Red Proteger®

 

Resolución 1460/2006

Secretaría de Energía

 

Apruébase el Reglamento Técnico de Transporte de Hidrocarburos Líquidos por Cañerías, que se aplicará a los oleoductos, poliductos, terminales marítimas e instalaciones complementarias, por los cuales se hubiera otorgado una concesión en los términos de la Ley Nº 17.319 y el Decreto Nº 44/1991


 

Bs. As., 24/10/2006

VISTO el Expediente Nº S01:0078257/2006 del Registro del MINISTERIO DE PLANIFICACION FEDERAL, INVERSION PUBLICA Y SERVICIOS, el Decreto Nº 44 del 7 de enero del 991, y

CONSIDERANDO:

Que el Decreto Nº 44 del 7 de enero de 1991 estableció el marco regulatorio del transporte de hidrocarburos por conductos y/o cualquier otro servicio prestado por medio de instalaciones fijas y permanentes vinculadas con dicho transporte.

Que la SECRETARIA DE ENERGIA, dependiente del MINISTERIO DE PLANIFICACION FEDERAL, INVERSION PUBLICA Y SERVICIOS, en su carácter de Autoridad de Aplicación del mencionado decreto, se halla facultada para el dictado de la normativa técnica para el diseño, construcción, operación y abandono de oleoductos, poliductos, terminales marítimas e instalaciones complementarías, dedicadas al transporte de hidrocarburos líquidos.

Que al respecto, se ha elaborado un Reglamento Técnico de Transporte de Hidrocarburos Líquidos por Cañerías aplicable a oleoductos, poliductos, terminales marítimas e instalaciones complementarias por los que se hubiere otorgado una concesión de transporte.

Que la DIRECCION GENERAL DE ASUNTOS JURIDICOS del MINISTERIO DE ECONOMIA Y PRODUCCION ha tomado la intervención que le compete, de conformidad con lo establecido en el Artículo 9º del Decreto Nº 1142 del 26 de noviembre de 2003.

Que la presente resolución se dicta en uso de las facultades otorgadas por el Artículo 7º incisos b) y g) del Decreto Nº 44 del 7 de enero de 1991.

Por ello,

EL SECRETARIO DE ENERGIA

RESUELVE:

Artículo 1º — Apruébase el Reglamento Técnico de Transporte de Hidrocarburos Líquidos por Cañerías que se describe en el Anexo de la presente resolución, el que se aplicará a los oleoductos, poliductos, terminales marítimas e instalaciones complementarias, por los cuales se hubiera otorgado una concesión de transporte en los términos de las Secciones 4º y 5º de Ley Nº 17.319 y el Decreto Nº 44 del 7 de enero de 1991.

La presente reglamentación también será de Aplicación a los oleoductos de captación que traspasaren los límites de la respectiva concesión de explotación hacia una planta de tratamiento.

Art. 2º — Los concesionarios y operadores de las instalaciones a que se refiere el artículo precedente, deberán cumplir con lo dispuesto en el mencionado reglamento, sin perjuicio de la observancia de la normativa específica de la SECRETARIA DE ENERGIA, dependiente del MINISTERIO DE PLANIFICACION FEDERAL, INVERSION PUBLICA Y SERVICIOS, en materia de plantas de almacenaje que resultare de aplicación.

Art. 3º — Las infracciones a la presente reglamentación, serán penadas de acuerdo con lo dispuesto en el Capítulo V del Decreto Nº 44 del 7 de enero de 1991, o aquella legislación que en el futuro lo sustituya.

Art. 4º — La presente resolución entrará en vigencia a partir de su publicación en el Boletín Oficial.

Art. 5º — Comuníquese, publíquese, dése a la Dirección Nacional del Registro Oficial y archívese. — Daniel O. Cameron.

ANEXO

REGLAMENTO TECNICO PARA EL TRANSPORTE DE HIDROCARBUROS LIQUIDOS

POR CAÑERIAS (RTTHL)

INDICE

REGLAMENTO TECNICO PARA EL TRANSPORTE DE HIDROCARBUROS

LIQUIDOS POR CAÑERIAS (RTTHL)

INDICE

PREFACIO

INTRODUCCION

PROCEDIMIENTO DE REVISION DE ESTE REGLAMENTO TECNICO (RT)

CAPITULO I: ALCANCE Y DEFINICIONES

400 [ A ] y [ R ] INFORMACION GENERAL

Figura 400.1

400.1 [ R ] Alcance General

400.1.1 [ R ] Exclusiones del alcance de este Reglamento Técnico (RT)

400.2 [ A ] DEFINICIONES

CAPITULO II: DISEÑO

PARTE 1: CONDICIONES Y CRITERIOS

401 CONDICIONES DE DISEÑO

401.1 [A] Generalidades

401.2 Presión

401.2.2 [ A ] Presión de Diseño Interior

401.3 Temperatura

401.4 Influencias del Ambiente

401.5 [ A ] Efectos Dinámicos

401.5.1 Impacto

[ A ] 401.5.2 Viento

[ A ] 401.5.3 Sismos

401.5.4 Vibraciones

401.5.5 Subsidencias

401.5.6 [ A ] Olas y corrientes

401.6 Efectos del Peso

401.6.1 Cargas vivas

401.6.2 Cargas muertas.

TABLA [A] 401.6.2 (a) - Tapada mínima

401.7 Cargas de Expansión y Contracción Térmica

401.8 Movimientos Relativos de los Componentes Conectados con la Cañería

402 CRITERIOS DE DISEÑO

402.1 Generalidades

402.2 Series para los componentes de cañería en función de la Presión y Temperatura

402.3 Tensiones Admisibles y Otros Límites de Tensión

402.3.1 [ A ] y [ R ] Valores de Tensiones Admisibles

402.4 Tolerancias

402.4.1 [ A ] Corrosión

PARTE 2: DISEÑO DE COMPONENTES DE CAÑERIA SOMETIDOS A PRESION

403 CRITERIO PARA EL DISEÑO DE COMPONENTES DE CAÑERIA

404 PRESION DE DISEÑO DE LOS COMPONENTES

404.1 Caño Recto

404.1.1 General

TABLA [A] 404.1.1(a).

404.2 Segmentos Curvos de Cañería

404.3 Intersecciones

404.5 Presión de Diseño de Bridas

404.6 Reducciones

404.7 Presión de Diseño de Otros Componentes que Soportan Presión

PARTE 3: APLICACIONES DEL DISEÑO PARA LA SELECCION DE COMPONENTES DE CAÑERIA Y SUS LIMITACIONES.

405 CAÑO

405.2 Caño Metálico

406 ACCESORIOS, CODOS, CURVAS E INTERSECCIONES

406.1 Accesorios

406.2 Curvas, Ingletes y Codos

406.3 Cuplas

406.4 Reducciones

406.5 Intersecciones

406.6 [ A ] Tapas

407 VALVULAS

407.1 Generalidades

407.8 Válvulas Especiales

408 BRIDAS, CARAS DE BRIDAS, JUNTAS Y ESPARRAGOS

408.1 Bridas

408.3 Caras de Bridas

408.4 Juntas

408.5 Espárragos

409 MATERIALES Y ELEMENTOS USADOS

PARTE 4: SELECCION Y LIMITACIONES DE LAS UNIONES DE CAÑERIAS

411 UNIONES SOLDADAS

411.2 Soldadura a tope

412 UNIONES BRIDADAS

412.1 Generalidades

414 UNIONES ROSCADAS

414.1 Generalidades

418 MEDIACAÑAS, CUPLAS Y OTRAS UNIONES PATENTADAS

418.1 Generalidades

PARTE 5: EXPANSION, FLEXIBILIDAD, ACCESORIOS ESTRUCTURALES, SOPORTES Y RESTRICCIONES

419 EXPANSION Y FLEXIBILIDAD

419.1 Generalidades

419.5 [ A ] Flexibilidad

419.5.1 Recursos Para Proveer Flexibilidad.

419.6 [ R ] Propiedades

419.6.1 [ R ] Coeficiente de expansión térmica.

420 CARGAS SOBRE LOS ELEMENTOS QUE SOPORTAN CAÑERIA

420.1 Generalidades.

421 DISEÑO DE LOS ELEMENTOS DE SOPORTE DE CAÑERIA

421.1 Soportes, Abrazaderas y Anclajes.

PARTE 6: CAÑERIAS AUXILIARES Y OTRAS

422 REQUERIMIENTOS DE DISEÑO

422.3 Instrumentos y otras cañerías Auxiliares de Petróleo.

422.6 Cañería de alivio de Presión.

CAPITULO III: MATERIALES

423 MATERIALES - REQUERIMIENTOS GENERALES.

423.1 [ A ] y [ R ] Materiales y especificaciones aceptadas.

423.2 [ A ] Limitación de Materiales.

425 MATERIALES APLICADOS A PARTES MISCELANEAS

Tabla 423.1 Materiales normalizados

CAPITULO IV: REQUISITOS DIMENSIONALES.

426 REQUISITOS DIMENSIONALES PARA COMPONENTES DE CAÑOS NORMALIZADOS Y NO NORMALIZADOS.

426.1 Componentes de cañerías normalizados.

426.2 Componentes de cañerías no normalizados.

426.3 Roscas.

Tabla 426.1 Normas dimensionales.

CAPITULO V: CONSTRUCCION, SOLDADURAS Y MONTAJE

434 CONSTRUCCION

434.1 Generalidades.

434.2 [ A ] Inspección.

434.3 Derecho de paso

434.3.1. [ A ] Ubicación

TABLA [A] 434.3.1 Tabla de distancias de seguridad (en metros)

PROTECCION EXTRA O SOBREPROTECCION.

434.3.2 [ A ] Requerimientos de construcción

434.3.3 [ A ] Inspección y estaqueado o marcado

434.4 Manipuleo, transporte, desfile y almacenamiento

434.5 [ A ] Daños a elementos prefabricados y caños.

434.6 [ A ] Zanjeo.

434.7 Curvas, ingletes y codos.

434.7.1 Curvas confeccionadas a partir de caño.

434.7.2 Curvas a Inglete (Tipo miter)

434.7.3 [ A ] Curvas y codos confeccionados en fábrica.

434.8 Soldadura.

434.8.1 [ A ] Generalidades.

434.8.2 Procesos de soldadura y metal de aporte.

434.8.3 [ A ] Calificación de soldadores y procedimientos de soldadura.

434.8.4 Normas para soldaduras.

434.8.5 [ M ] Requerimientos de inspección y criterios de aceptación.

434.8.6 Tipos de soldadura, diseño de juntas y niples de transición.

434.8.7 Remoción o reparación de defectos.

434.8.8 Precalentamiento y temperatura entre pasadas.

434.8.9 Alivio de tensión.

434.9 Empalmes.

434.10 [ A ] Instalación del caño en la zanja.

434.11 [ A ] Relleno

434.12 [ A ] Restauración de la pista y limpieza.

434.13 [ A ] Cruces especiales.

434.13.1 Cruces de agua.

434.13.2 [ A ] Estructuras elevadas

434.13.3 [ A ] Instalación sobre puentes.

434.13.4 [ A ] Cruces de carreteras y vías férreas.

434.14 Construcción sobre tierra firme y aguas costeras.

434.15 Válvulas de bloqueo y aislamiento.

434.15.1 Generalidades.

434.15.2 Válvulas de la línea principal.

434.15.3 [ A ] Válvulas en la estación de bombeo, Playas de tanques y Terminales.

434.16 Conexiones a líneas principales.

434.17 [ A ] Trampas Scrapers.

434.18 Marcación de la línea principal.

434.19 Control de la corrosión.

434.20 Construcción de estaciones de bombeo, playa de tanques y terminales.

434.20.1 Generalidades.

434.20.2 Ubicación.

434.20.3 Instalación de edificios.

434.20.4 Equipo de bombeo y generador principal.

434.20.5 [ A ] Cañería de estación de bombeo, playa de tanques y terminales.

434.20.6 Equipo de control y protección.

434.20.7 [ A ] Protección contra el fuego.

434.21 Tanques para almacenamiento y trabajo.

434.21.1 Generalidades.

434.21.2 [ A ] Ubicación.

434.21.3 Tanques y almacenamiento tipo caño.

434.21.4 [ A ] Fundación.

434.21.5 [ A ] Diques y paredes contra fuego.

434.22 Instalación eléctrica.

434.22.1 Generalidades.

434.22.2 Cuidado y manipuleo de materiales.

434.22.3 Instalaciones.

434.23 Medición de líquido.

434.24 Separadores de Líquidos y Filtros.

435 Montaje de componentes de cañería.

435.1 Generalidades.

435.2 Uniones con espárragos.

435.3 Cañerías para las unidades de bombeo.

435.4 Colectores.

435.5 Cañería auxiliar para petróleo.

CAPITULO VI: INSPECCION Y PRUEBAS

436 INSPECCION

436.1 Generalidades

436.2 Inspectores

436.5 Tipo y alcance de los exámenes requeridos

436.5.1 Visual

436.5.2 Tipos de exámenes complementarios

436.6 Reparación de defectos

437 PRUEBAS

437.1 Generalidades

437.1.3 Pruebas de los ítems fabricados

437.1.4 Pruebas después de una nueva construcción

437.4 Prueba de Presión

437.4.1 [ A ] y [ R ] Prueba Hidráulica

TABLA [A] 437.4.1(a) - Factor de Prueba Hidráulica

437.4.3 Prueba de hermeticidad.

437.6 Ensayos de certificación

437.6.1 Examen Visual

437.6.2 Propiedades de flexión

437.6.3 Determinación del espesor de pared

437.6.4 Determinación del factor de junta de soldadura

437.6.5 Soldabilidad

437.6.6 Determinación de la tensión de fluencia

437.6.7 Tensión de fluencia mínima

437.7 Registro

437.7.1 Curvas confeccionadas a partir de caño

CAPITULO VII: PROCEDIMIETOS DE OPERACION Y MANTENIMIENTO

450 PROCEDIMIENTOS DE OPERACION Y MANTENIMIENTO QUE AFECTAN LA SEGURIDAD DE LOS SISTEMAS DE TUBERIAS DE TRANSPORTE

450.1 Generalidades

450.2 [ A ] Planes y Procedimientos de Operación y Mantenimiento

451 OPERACION Y MANTENIMIENTO DE CAÑERIAS

451.1 [ A ] Máxima Presión de Operación Admisible (MAPO)

TABLA [A] 451.1( 1 ) Factores K para la determinación de la MAPO

451.2 Comunicaciones

451.3 Marcadores y carteles de la línea

451.4 Mantenimiento de Picada

451.5 Patrullaje

451.6 Reparación de Caños

451.6.c [ A ] Dispositivos de Seguridad Contra Sobre Presión y Sobrellenado

451.6.d [ A ] Programa de Prevención de daños

451.6.1 Generalidades

451.6.2 [ A ] Remoción de Defectos

451.6.3 Requerimientos de prueba de reparaciones para cañerías que operan a un nivel de tensión superior al 20% de la Tensión Mínima de Fluencia Especificada.

451.7 [ A ] Reducción de la Presión de Operación en Cañerías

451.8 [ R ] Mantenimiento de Válvulas

451.9 Cruces de vías o caminos sobre cañerías existentes.

451.10 Acometidas a plataformas en aguas interiores.

452 OPERACION Y MANTENIMIENTO DE ESTACIONES DE BOMBEO, TERMINALES Y PLAYAS DE TANQUES

452.1 Generalidades

452.2 Equipamiento de Protección y Control

452.3 Recipientes de Almacenamiento

452.4 Almacenamiento de Materiales Combustibles

452.5 Cercos Perimetrales

452.6 Señales

452.7 Prevención de Ignición Accidental

453 CONTROL DE LA CORROSION

454 PLAN DE EMERGENCIA

455 REGISTROS

456 CALIFICACION DE UNA CAÑERIA PARA OPERAR A UNA PRESION MAYOR

457 [ A ] DESAFECTACION Y ABANDONO DE INSTALACIONES

477 [ A ] MOVIMIENTO DE CAÑERIA

CAPITULO VIII: CONTROL DE LA CORROSION

460 GENERAL

461 CONTROL DE LA CORROSION EXTERNA PARA CAÑERIAS ENTERRADAS O SUMERGIDAS

461.1 Instalaciones Nuevas

461.1.1 [ R ] General

461.1.2 [ A ] Revestimiento Protector

461.1.3 Sistema de Protección Catódica

461.1.4 Aislación Eléctrica

461.1.5 [ R ] Puntos de Medición

461.1.6 Interferencia Eléctrica

461.2 Sistemas de Cañerías Existentes

461.3 [ A ] Monitoreo

462 CONTROL DE LA CORROSION INTERNA

462.1 Instalaciones Nuevas

462.2 Cañerías Existentes

462.3 Monitoreo

463 CONTROL DE LA CORROSION EXTERNA PARA CAÑERIAS EXPUESTAS A LA ATMOSFERA

463.1 Instalaciones Nuevas

463.2 Cañerías Existentes

463.3 Monitoreo

464 MEDIDAS CORRECTIVAS

465 REGISTROS

CAPITULO IX: SISTEMAS DE CAÑERIAS COSTA AFUERA PARA HIDROCARBUROS LIQUIDOS

A 400 CONSIDERACIONES GENERALES.

A 400.1 [ R ] Alcance.

A 401 CONDICIONES DE DISEÑO.

A 401.1 Generalidades.

A 401.1.1 Condiciones de diseño costa afuera.

A 401.9 Consideraciones del diseño de instalación.

A 401.9.1 Cargas para el diseño de instalación.

A 401.9.2 Cargas de instalación.

A 401.9.3 Cargas ambientales durante la instalación.

A 401.9.4 Suelos del lecho.

A 401.10 Consideraciones de diseño operacionales.

A 401.10.1 Cargas para el diseño operacional.

A 401.10.2 Cargas operacionales.

A 401.10.3 Cargas ambientales durante la operación.

A 401.10.4 Suelos del lecho.

A 401.11 Consideraciones de diseño para la prueba hidrostática.

A 401.11.1 Cargas para el diseño de la prueba hidrostática.

A 401.11.2 Cargas de la prueba hidrostática.

A 401.11.3 Cargas ambientales durante la prueba hidrostática.

A 401.11.4 [ A ] Suelos del lecho.

Tabla A 401.11.4 Datos para la clasificación del suelo.

A 401.12 Consideraciones para la selección de la ruta.

A 402 CRITERIOS DE DISEÑO.

A 402.3 Tensiones admisibles y otras tensiones límites.

A 402.3.4 Criterio de resistencia durante la instalación y la prueba.

A 402.3.5 Criterio de resistencia durante las operaciones.

A 402.3.6 Diseño por expansión y flexibilidad.

A 402.3.7 Diseño de abrazaderas y soportes.

A 402.3.8 Diseño de conectores y bridas.

A 402.3.9 Diseño de protectores estructurales de la acometida de la cañería.

A 402.3.10 Diseño y protección de montajes especiales.

A 402.3.11 Diseño de caño flexible.

A 402.3.12 [ A ] y [ R ] Diseño de cruces de cañerías.

A 402.4 Tolerancias.

A 402.4.3 Factores para junta soldada.

A 404 PRESION DE DISEÑO DE COMPONENTES.

A 404.1 Caño recto.

A 404.1.1 Generalidades.

A 404.3 Intersecciones.

A 404.3.1 Conexiones en derivación.

A 405 CAÑERIA.

A 405.2 Cañería metálica.

A 405.2.1 Caño de acero.

A 405.3 Caño flexible.

A 406 ACCESORIOS, CODOS, CURVAS E INTERSECCIONES.

A 406.2 Curvas, ingletes y codos.

A 406.2.2 Curvas a inglete.

A 406.4 Reducciones.

A 406.4.2 Tapones de superficie rugosa.

A 406.6 Cierres.

A 406.6.4 Cierres fabricados.

A 407 VALVULAS.

A 407.1 Generalidades

A 408 BRIDAS, CARAS, JUNTAS Y ESPARRAGOS.

A 408.1 Bridas.

A 408.1.1 Generalidades.

A 408.3 Caras de bridas.

A 408.3.1 Generalidades.

A 409 COMPONENTES Y EQUIPOS USADOS PARA CAÑERIAS.

A 410 OTRAS CONSIDERACIONES DE DISEÑO.

A 410.1 Scrapers y herramientas internas de inspección.

A 410.2 Componentes especiales.

A 414 UNIONES ROSCADAS.

A 414.1 Generalidades.

A 419 EXPANSION Y FLEXIBILIDAD.

A 421 DISEÑO DE ELEMENTOS SOPORTES DE CAÑERIA.

A 423 MATERIALES - REQUERIMIENTOS GENERALES.

A 423.1 Materiales aceptables y especificaciones.

A 423.2 [ A ] Limitaciones de los materiales.

A 434 CONSTRUCCION.

A 434.2 Inspección.

A 434.3 Derecho de paso.

A 434.3.3 Reconocimiento y estaqueado o marcado.

A 434.4 Manipuleo, transporte, almacenamiento y desfile.

A 434.6 Zanjeo.

A 434.7 Curvas, ingletes y codos.

A 434.7.1 Curvas hechas a partir de caño.

A 434.8 Soldadura.

A 434.8.3 Calificación de soldaduras.

A 434.8.5 Calidad de soldadura.

A 434.8.9 Alivio de tensión.

A 434.11 Relleno.

A 434.13 Cruces especiales.

A 434.13.1 Cruces de agua

A 434.14 Construcción de cañería costa afuera.

A 434.14.1 Profundidad y alineación del caño.

A 434.14.2 Procedimientos de instalación y selección de equipos.

A 434.14.3 Movimientos de las cañerías existentes.

A 434.15 Válvulas para bloqueo y aislamiento.

A 434.15.1 Generalidades.

A 434.18 [ A ] Señalización de la línea.

A 436 INSPECCION.

A 436.2 Calificación de inspectores.

A 436.5 Tipo y contenido de los exámenes requeridos.

A 436.5.1 Visual

A 437 PRUEBAS

A 437.1 Generalidades

A 437.1.4 Prueba después de una nueva construcción.

A 437.4 Presión de prueba.

A 437.4.3 Prueba de pérdidas.

A 437.6 Calificación de las pruebas.

A 437.7 Registros.

A 450 PROCEDIMIENTOS DE OPERACION Y MANTENIMIENTO QUE AFECTAN LA SEGURIDAD DE LOS SISTEMAS DE TRANSPORTE DE LIQUIDOS.

A 450.2 Planes y procedimientos de operación y mantenimiento.

A 451 OPERACION Y MANTENIMIENTO DE LA CAÑERIA

A 451.3 Marcadores - Mojones.

A 451.4 Mantenimiento del derecho de paso.

A 451.5 Patrullaje.

A 451.6 Reparación de cañerías.

A 451.6.1 Generalidades.

A 451.6.2 Disposiciones sobre defectos.

A 451.6.4 Reparación del caño flexible.

A 451.7 Calificación de una cañería a una presión de operación menor.

A 451.8 Mantenimiento de válvulas.

A 451.9 Cruces de cañerías existentes con ferrocarriles y carreteras.

A 451.10 Acometidas a Plataformas en aguas interiores.

A 451.11 Inspección.

A 452 OPERACION Y MANTENIMIENTO DE PLATAFORMA, ESTACION DE BOMBEO, TERMINAL Y PLAYA DE TANQUES COSTA AFUERA.

A 452.5 Cercado

A 452.7 Prevención por ignición accidental.

A 452.7.1 [ A ] Protección y resistencia al fuego de las estructuras.

A 454 PLAN DE EMERGENCIA.

A 460 GENERALIDADES

A 461 CONTROL DE LA CORROSION EXTERNA PARA CAÑERIAS SUMERGIDAS COSTA AFUERA.

A 461.1 Instalaciones nuevas.

A 461.1.1 Generalidades.

A 461.1.2 Revestimiento protector.

A 461.1.3 Sistema de protección catódica.

A 461.1.4 Aislación eléctrica.

A 461.1.5 Cargas de pruebas.

A 461.1.6 Interferencias eléctricas.

A 461.3 Monitoreo.

A 463 CONTROL DE LA CORROSION EXTERNA PARA SISTEMAS DE CAÑERIA COSTA AFUERA EXPUESTA A CONDICIONES ATMOSFERICAS.

A 463.1 Instalaciones nuevas.

CAPITULO X [ A ]: PLAN DE GERENCIAMIENTO DE INTEGRIDAD PARTE 1: INTRODUCCION Y OBJETIVOS

501 INTRODUCCION

501.1 Generalidades

501.2 Propósitos y Objetivos

501.3 Elementos del Plan de Gerenciamiento de Integridad (PGI)

501.4 Requerimientos Generales del Plan de Gerenciamiento de Integridad (PGI).

501.5 Principios Guía

502 ALCANCE

502.1 Aplicación del PGI para operadores con más de un sistema de cañerías.

503 DOCUMENTACION INCLUIDA POR REFERENCIA

504 DEFINICIONES

PARTE 2: REQUERIMIENTOS MANDATORIOS

505 REQUERIMIENTOS MANDATORIOS DE DOCUMENTACION DEL PGI

506 CRONOGRAMA DE ENTREGA DE DOCUMENTACION

PARTE 3: PROCESO DE IMPLEMENTACION DEL PLAN DE GERENCIAMIENTO DE INTEGRIDAD

507 COLECCION E INTEGRACION DE DATOS

507.1 Identificar Ductos Alcanzados

507.2 Colectar datos

507.3 Integrar datos

508 CONTENIDOS DEL ANALISIS DE RIESGO BASICO (ARB)

508.1 Identificación de las amenazas aplicables.

508.2 Identificación somera de Areas Sensibles (AS)

508.3 Segmentación por tramos

508.4 Análisis de Riesgo Básico (ARB)

509 ELABORAR EL PLAN DE RELEVAMIENTO BASE (PRB)

509.1 Determinar el tipo de inspección aplicable a cada tramo / amenaza.

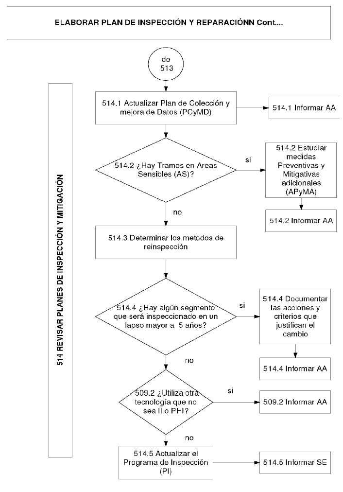
509.2 Utilización de otra tecnología que no sea Inspección Interna (II) o Prueba Hidráulica (PH)

509.3 Realizar el Plan de Relevamiento Base (PRB)

509.4 Kilometraje requerido por la Autoridad de Aplicación.

510 ELABORAR EL PLAN DE RESPUESTA (PR)

510.1 Definir el Plan de Respuesta (PR)

510.2 Requisitos mínimos estipulados en el Plan de Respuesta (PR)

511 REALIZAR INSPECCIONES Y REPARACIONES

511.1 Realizar inspecciones según el Plan de Relevamiento Base (PRB) o Plan de Inspección (PI) según corresponda. 107

511.2 Evaluar los resultados de las inspecciones y VERIFICACIONES DIRECTAS (VD)

511.3 Defectos que no pueden ser reparados según el Plan de Respuesta (PR).

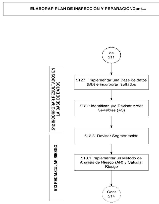
512 INCORPORAR RESULTADOS EN LA BASE DE DATOS

512.1 Implementar una Base de Datos (BD) e incorporar los datos y resultados.

512.2 Identificar y/o revisar las Areas Sensibles (AS).

512.3 Revisar Segmentación.

513 RECALCULAR EL RIESGO

513.1 Implementar un método de Análisis de Riesgo (AR) y calcular Riesgo.

514 REVISAR PLANES DE INSPECCION Y MITIGACION (PCyMD).

514.1 Actualizar Plan de Colección y Mejora de Datos (PCyMD).

514.2 Estudiar e implementar las Acciones Preventivas y Mitigativas Adicionales (APyMA) en tramos ubicados en Areas Sensibles (AS)..............................................

514.3 Determinar el / los métodos de reinspección.

514.4 Segmento o tramo que pueda ser inspeccionado en un lapso mayor a 5 años

514.5 Actualizar el Plan de Inspección (PI)

PARTE 4: EVALUACION DE LA EFECTIVIDAD DEL PGI

515 INDICADORES DE GESTION

515.1 Indicadores Mandatorios

515.2 Indicadores Adicionales Sugeridos

ANEXO 1: Datos Básicos del Sistema

ANEXO 2: Informe Final de Derrame, Fuga o Rotura

ANEXO 1 [ A ]: DATOS BASICOS DEL SISTEMA

A1 - 1 INTRODUCCION

A1 - 2 DATOS CONSTRUCTIVOS

ANEXO 2 [ A ]: INFORME FINAL DE DERRAME, FUGA O ROTURA – 120 DIAS

A2 - 1 INTRODUCCION

A2 - 2 CASOS EN QUE CORRESPONDE PRESENTAR EL INFORME DE "DERRAME, FUGA O ROTURA"

A2 - 3 TRES ELEMENTOS MINIMOS A INCLUIR EN EL INFORME

APENDICE N [ A ]: PROGRAMA DE PREVENCION DE DAÑOS POR EXCAVACIONES

N 1 - Alcance

N 2 - Generalidades

N 3 - PPD Escrito

N 4 - Métodos de información a las entidades respecto del PPD

N 5 - Información a comunicar

N 6 - Recepción de la notificación del inicio de excavaciones

N 7 - Respuesta a la Notificación de inicio o reinicio de excavación

N 8 - Inspección del Operador

APENDICE O [ A ]: ACTIVIDADES DE VOLADURAS

O 1 - GENERALIDADES.

O 2 – ALCANCE

O 3 - PROCEDIMIENTOS PREVIOS A LAS ACTIVIDADES DE VOLADURAS APENDICE P [ A ]: DESAFECTACION Y ABANDONO DE CAÑERIA

P 2 - ABANDONO:

P 3 - GENERALIDADES - LINEAMIENTOS - RECOMENDACIONES

APENDICE Q [ A ]: CAPACITACION DE PERSONAL

Q 1 - GENERALIDADES

Q 2 - ALCANCE

Q 3 - DEFINICIONES

Q 4 - IDENTIFICACION DE LAS PERSONAS INCLUIDAS EN EL PROGRAMA DE CAPACITACION.

Q 5 - REGISTROS

Q 6 - IDENTIFICACION DE TAREAS

PREFACIO

Atento la necesidad de incrementar la seguridad y la protección ambiental en la operación de los sistemas de transporte de hidrocarburos líquidos por cañerías, se ha elaborado el presente Reglamento Técnico (RT) sustentado en estándares internacionales y en las mejores prácticas de la industria a efectos de establecer los requerimientos técnicos mínimos que deben cumplir los operadores de sistemas de transporte de hidrocarburos líquidos por cañerías, terminales marítimas e instalaciones complementarias a dichos sistemas.

Para ello se ha decidido establecer el presente Reglamento Técnico (RT) que contiene como estándar de referencia principal al código ASME B31.4 Sistemas de Transporte por Cañerías de Hidrocarburos Líquidos y Otros Líquidos, edición 2002, de la Sociedad Americana de Ingenieros Mecánicos (ASME) (www.iram.org.ar), junto con agregados de otros estándares internacionales y prácticas de la industria que modifican, amplían o complementan dicho estándar.

Este Reglamento Técnico (RT) se refiere al diseño, construcción, inspección, operación, mantenimiento, gerenciamiento de integridad y control de la corrosión de los sistemas de transporte por cañerías, abarcando inclusive estas consideraciones a los sistemas de cañerías ubicados costa afuera.

Se aplicarán las disposiciones del presente Reglamento Técnico (RT) a:

· Las cañerías e instalaciones complementarias que integran las Instalaciones Fijas y Permanentes de las Concesiones de Transporte (Secciones 4º y 5º de la Ley Nº 17.319).

· Las cañerías de captación — transporte de hidrocarburos líquidos aún no tratados, por lo tanto fuera de especificación comercial — que traspasan los límites de las Concesiones de Explotación (Secciónes 3º y 5º de la Ley Nº 17.319).

Se deja expresamente establecido en este Reglamento Técnico (RT) que:

· Se dispone la aplicación obligatoria de las prescripciones del Código de referencia ASME B31.4 edición 2002 conjuntamente con las aclaraciones y/o modificaciones contenidas en el presente.

· No se han trascripto los capítulos del Código ASME B31.4 sino que se listan las excepciones y se incluyen los cambios pertinentes.

· Las futuras actualizaciones del Código ASME B31.4 serán automáticamente adoptadas, salvo que contradigan lo prescripto en el presente Reglamento Técnico (RT), en cuyo caso vale este Reglamento.

· Se define el marco de aplicación específico de un sistema formal de Gerenciamiento de Integridad de las instalaciones con alcance a los sistemas de transporte por cañerías que operan en el Territorio Nacional.

Las disposiciones establecidas en el presente Reglamento Técnico (RT) serán de aplicación obligatoria en todos los sistemas existentes en lo referente a procedimientos de operación, inspección y mantenimiento, control de la corrosión y gerenciamiento de integridad.

INTRODUCCION

El presente Reglamento Técnico (en adelante Reglamento) está basado principalmente en las recomendaciones contenidas en el código ASME B31.4, con ampliaciones, modificaciones y/o aclaraciones sustanciadas en el Código de Regulación Federal de los Estados Unidos CFR part 195, el código API 1160 de la American Petroleum Institute y el nuevo estándar europeo BS EN 14161.

A efectos de su interpretación este Reglamento tiene la misma numeración que los capítulos correspondientes del código ASME B31.4. Las secciones que no fueron modificadas mantienen su título traducido pero no se ha transcripto el texto correspondiente.

Las secciones que tienen otros conceptos diferentes del Código ASME B31.4, tienen una letra que significa:

· [ A ] Agregados

· [ R ] Reemplazo

· [ M ] Modificaciones

Este Reglamento no pretende ser una exhaustiva guía para el diseño, construcción y operación de sistemas de transporte de hidrocarburos, sino que establece los requerimientos mínimos que deberán cumplir los operadores y concesionarios de sistemas de transporte, teniendo en cuenta que la consideración primaria es hacia la seguridad, por lo que cada operador deberá recurrir a las mejores prácticas de la industria y a los juicios ingenieriles pertinentes que le permitan atender todas las restricciones y problemas que se presenten en cada proyecto en particular.

Para las consideraciones de diseño se han incluido principios básicos y fórmulas simples, como así también advertencias sobre componentes no permitidos o prácticas inseguras.

A efectos de proporcionar a la Autoridad de Aplicación los elementos técnicos que deben ser verificados en relación con la actividad del transporte por cañerías de hidrocarburos líquidos, este Reglamento se ha dividido en los siguientes temas:

1. Referencias a los materiales aceptables para los componentes de un sistema de cañerías, incluyendo requerimientos dimensionales y rangos de presión y temperatura.

2. Requerimientos para el diseño de los componentes y accesorios, incluyendo los soportes.

3. Requerimientos y datos para evaluación del nivel de tensión y esfuerzos en las cañerías.

4. Requerimientos generales de construcción.

5. Requisitos de evaluación, inspección y pruebas de los componentes de un sistema de cañerías.

6. Guías para la elaboración de los procedimientos de operación y mantenimiento.

7. Disposiciones para la protección adicional de las cañerías ante la corrosión externa / interna.

8. Requerimientos para la protección adicional de las cañerías costa afuera.

9. Disposiciones para un sistema de gerenciamiento de integridad.

10. Disposiciones para la capacitación del personal de operación y mantenimiento.

El presente Reglamento será de aplicación a todos los sistemas de transporte de hidrocarburos líquidos por cañerías especificados en el Capítulo I, ubicados en el Territorio Nacional, Islas del Atlántico Sur o en la Plataforma Continental Argentina, conforme lo definido por la legislación vigente.

Dentro del alcance establecido en el párrafo anterior, para los sistemas de transporte por cañerías existentes solamente aplican los capítulos referidos a operación, mantenimiento, control de la corrosión y gerenciamiento de integridad. En los casos de diseño de sistemas nuevos y de modificaciones esenciales, agregados de tramos o re-ruteo en los casos de tramos o secciones de cañerías existentes, se deberá aplicar este Reglamento en su totalidad.

PROCEDIMIENTO DE REVISION DE ESTE REGLAMENTO TECNICO (RT)

A continuación se establece la metodología para la actualización y/o revisión del presente Reglamento.

La Autoridad de Aplicación recibirá las consultas de la industria del transporte de hidrocarburos líquidos por cañerías, sus representantes o de una empresa en forma individual, acerca de cualquier aspecto relacionado con este Reglamento, así como solicitudes de modificación debidamente fundamentadas.

La Autoridad de Aplicación podrá a su criterio requerir el asesoramiento de otros organismos o entidades especializadas, como también a los propios sujetos de la industria, emitiendo una Orden de Consulta.

La Autoridad de Aplicación, si considera relevante el pedido, podrá convocar por sí o a pedido de partes —mencionadas en el segundo párrafo— a una audiencia, arbitrar los medios para tratar el tema con terceros eventualmente afectados por la solicitud, evaluar sus argumentos, fundar su rechazo y/o disponer la incorporación de los cambios que sean aprobados o aceptados por dicha Autoridad.

Los transportistas de hidrocarburos líquidos por cañerías, sus representantes o un transportista en particular que deseen plantear una modificación sustancial al presente Reglamento deberán:

A. Enviar una solicitud a la Autoridad de Aplicación donde expresa claramente el cambio propuesto.

B. Adjuntar la información necesaria y suficiente, referencias a otros códigos, memorias de cálculo, etc. que demuestren la validez de su propuesta.

Una vez recepcionada la solicitud la Autoridad de Aplicación podrá:

Establecer un período máximo de 6 meses de discusión del tema en cuestión para su resolución.

Emitir la Orden de Consulta a quienes corresponda antes de tomar una resolución acerca de la solicitud planteada.

Si la consulta se refiere a la interpretación de una disposición o a un pedido de excepción referido a lo dispuesto en el presente Reglamento el procedimiento a criterio de la Autoridad de Aplicación, será el más expeditivo posible.

CAPITULO I: ALCANCE Y DEFINICIONES

400 [ A ] y [ R ] INFORMACION GENERAL

[ R ] (a) Este Reglamento será de aplicación a los sistemas de transporte de hidrocarburos líquidos por cañerías —de acuerdo a la figura 400.1— excluyéndose expresamente el transporte por cañerías de otros líquidos como amoníaco anhidro, anhídrido carbónico o alcoholes.

(b) Los requisitos de este Reglamento son los adecuados para una operación en condiciones normales, conforme los estándares de la industria. Los requisitos para las condiciones anormales o inusuales no están específicamente cubiertos, como así tampoco todos los detalles de ingeniería y construcción. Todos los trabajos realizados en instalaciones alcanzadas por este Reglamento, deben estar de acuerdo como mínimo con los estándares de seguridad expresados en el presente.

(c) El objeto de este Reglamento es establecer los requisitos mínimos para la seguridad en el diseño, los materiales, la construcción, el montaje, la inspección, los ensayos, la operación, el mantenimiento y la integridad de los sistemas de cañerías que transportan hidrocarburos líquidos, para la seguridad del público en general, del personal de la compañía operadora, la salvaguarda de los sistemas de cañerías contra el vandalismo, daños accidentales por terceros y la protección del ambiente.

(d) Este Reglamento concierne a la seguridad de las personas en la medida que ésta es afectada por el diseño básico, la calidad de los materiales y su fabricación y los requisitos para la construcción, inspección, ensayos, operación y mantenimiento de los sistemas de cañerías que transportan hidrocarburos líquidos. No pretende suplantar las disposiciones de seguridad industrial aplicables a las diferentes tareas, prácticas de seguridad de trabajo y mecanismos de seguridad.

(e) El presente Reglamento no es un manual de diseño, por lo que no elimina la necesidad de ingeniería de detalle o juicios de ingeniería competentes. Los requisitos de diseño específicos establecidos en este Reglamento, responden a un enfoque de ingeniería simplificado, de este modo, los profesionales a cargo del diseño deberán realizar un análisis más completo y riguroso al presentarse problemas inusuales o especiales, quedando a su cargo el desarrollo de tales diseños y la evaluación de tensiones complejas o combinadas. En tales casos, el profesional responsable del diseño lo será también para demostrar la validez de su enfoque.

(f) Para el caso de conflictos entre este Reglamento y eventuales jurisdicciones provinciales, tendrá prioridad la más exigente de las mismas, en su última revisión aprobada.

(g) Otras consideraciones:

[ A ] Unidades: En este Reglamento se adoptan las unidades establecidas en la Ley Nº 19.511 de Metrología (SIMELA), pudiendo indicarse entre paréntesis otras unidades.

Incorporación por referencia: Las normas y cualquier otro tipo de referencias están incluidas como información o guía y se deberá tomar como válida la última edición.

Compatibilidad entre los productos transportados por la cañería: No podrá ser transportado ningún producto de los fijados en el alcance de este Reglamento que pueda ser incompatible con el material de la cañería especificada o cualquiera de sus componentes.

Preservación del ambiente: Los operadores que construyan, operan, mantengan y abandonan sistemas de cañerías dedicados al transporte de hidrocarburos líquidos, son responsables y tienen la obligación de cumplimentar el presente Reglamento y la Disposición de la Subsecretaría de Combustibles Nº 56 del 4 de abril de 1997 o la normativa que la reemplace en el futuro.

Cañerías construidas con materiales diferentes al acero: En los sistemas de transporte alcanzados por el presente Reglamento —de acuerdo a la Figura 400.1— no podrá utilizarse cañerías nuevas que no cumplan con lo especificado en el mismo respecto al tipo de material.

Con la finalidad de permitir la incorporación de nuevos desarrollos tecnológicos, cuando no exista norma local sobre la materia, la Autoridad de Aplicación podrá aprobar condicionalmente, diseños o sistemas de operación que le sean presentados y que no estén contemplados en este Reglamento Técnico (RT) siempre que su uso sea aceptado en normas extranjeras reconocidas o respaldado por estudios técnicos documentados, que avalen la seguridad del diseño o sistema de operación.

400.1 [ R ] Alcance General

[ R ] Este Reglamento Técnico (RT) establece los requisitos mínimos de seguridad para el diseño, los materiales, la construcción, el montaje, la inspección, los ensayos, la operación, el mantenimiento y la integridad de los sistemas de cañerías que transportan hidrocarburos líquidos tales como:

§ Petróleo crudo.

§ Condensados.

§ Gasolina.

§ Líquidos del gas natural.

§ Gas licuado de petróleo.

§ Subproductos líquidos del petróleo.

Entre: (Ver Figura 400.1)

a. Colector principal de una Concesión de Explotación a Planta de Tratamiento de Petróleo fuera de la misma.

b. Entre Planta de Tratamiento de Petróleo crudo y Playa de tanques.

c. Playas de tanques.

d. Subproductos líquidos de plantas de procesamiento de gas natural a otras plantas o despacho

e. Refinerías a despacho.

f. Estaciones de bombeo.

g. Playa de Tanques de terminal a boya.

h. Otros puntos de despacho y recepción de producto.

En consecuencia las instalaciones incluidas dentro del alcance de esta norma son:

a. Cañería principal entre terminales de ductos (marinas, férreas y de camiones), estaciones de bombeo y estaciones reductoras de presión y estaciones de medición, incluyendo las trampas de scraper y los loops de prueba.

b. Cañerías de interconexión entre tanques de Almacenaje y Despacho, propias de la operación del caño.

c. Aquellos aspectos de operación, mantenimiento e inspección de los sistemas de caños de hidrocarburos líquidos relacionados a la seguridad y la protección del público en general, personal de la compañía operadora, el ambiente, propiedades y los sistemas de cañerías.

d. Cañerías costa afuera.

e. Sistemas de protección catódica.

f. Sistemas de detección de pérdidas.

400.1.1 [ R ] Exclusiones del alcance de este Reglamento Técnico (RT)

[ R ] Quedan excluidas del alcance del presente Reglamento Técnico (RT) las siguientes instalaciones:

a. Cañerías auxiliares tales como cañerías de agua, aire, vapor, aceite lubricante y gas combustible.

b. Recipientes de presión, intercambiadores de calor, bombas, medidores y otros equipos de los circuitos auxiliares.

c. Cañerías diseñadas para presiones internas:

c.1 Por debajo de 15 psi (1 bar), prescindiendo de la temperatura.

c.2 Superiores a 15 psia (1 bar) si la temperatura de diseño está por debajo de –30°C (-22 °F) o sobre 120° C (248 °F).

d. Entubado, caño, o cañerías usados en pozos de petróleo, montajes de bocas de pozos, colectores, separadores de petróleo y gas, tanques de producción de petróleo, otras instalaciones de producción y cañerías de interconexión de esas instalaciones, que no salgan del área de Concesión de Explotación.

e. Cañerías internas de plantas de tratamiento de petróleo crudo, plantas de almacenaje, procesadoras de gas, de gasolina y refinerías de petróleo.

f. Cañerías de transporte y distribución de gas natural.

400.2 [ A ] DEFINICIONES

[ A ] Algunos de los términos más comunes relacionados a este Reglamento están contenidos en el código de referencia, sin embargo las siguientes definiciones amplían o complementan las que se encuentran en dicho código.

Accidente / Incidente: Suceso imprevisto que puede derivar en daño a personas, instalaciones y/ o al ambiente.

Cuasi-accidente: Cuando se han dado las condiciones para la ocurrencia de un accidente pero no se concretó el mismo.

Colector principal de una Concesión de Explotación: Instalación en la que se recibe todo el petróleo crudo sin tratamiento y desde la cual se envía el mismo a una Planta de Tratamiento de Crudo.

Condensados: Mezcla de hidrocarburos presentes en el gas natural extraído de los yacimientos que se encuentran en el estado líquido o vaporizado y que son separados por medio de separadores primarios a 15 °C, y a 1 atmósfera, se presentan en estado líquido. Tienen una densidad relativa de más de 0,710 y menor de 0,800 (grados °API de 68 a 45) una Presión de Vapor Reid a 37,8 °C no mayor de 103.42 kPa (15 psig) y un punto final de destilación mayor de 200 °C y menor de 400 °C.

Condiciones anómalas: estado que dura un tiempo limitado en el cual el sistema, como consecuencia de una falla imprevista, se aleja de las condiciones de presión, temperatura, caudal, composición química (o combinaciones de más de una de ellas) para las cuales fue diseñado.

Cañerías de Captación: son las destinadas a recolectar los hidrocarburos de los pozos productores hasta la planta de tratamiento.

Falla: inhabilidad de cualquier activo físico para satisfacer las condiciones para las cuales fue diseñado.

Fluidos Categoría A: fluidos inflamables en estado líquido a presión y temperatura ambiente. Ejemplos: petróleo crudo, condensado, gasolina y subproductos líquidos del petróleo. Fluidos

Categoría B: fluidos inflamables que se presentan como gases a temperatura y presión ambiente, pero son transportados en estado líquido por modificación de las condiciones de presión y temperatura. Ejemplos típicos son los líquidos del gas natural, gas licuado de petróleo, propano y butano.

Gasolina: mezcla de hidrocarburos presentes en el gas natural extraído de los yacimientos, separados al estado líquido por medio de operaciones de enfriamiento mecánico o por procesos industriales propios de las plantas de acondicionamiento del gas natural y/o extracción de gas licuado. Se encuentra en estado líquido en condiciones estándar de presión y temperatura (1 atmósfera y 15 °C), el que estabilizado debe tener una Presión de Vapor Reid a 37,8 °C no mayor de 103.42 kPa (15 psig). Tienen una densidad relativa mayor de 0,600 y menor de 0,710 (grados API 104 a 68) y un punto final de destilación mayor de 100 °C y menor de 200 °C.

Imperfección: una discontinuidad o irregularidad detectada por un método de inspección.

Legajo Técnico de obra: aquel documento que contendrá como mínimo:

· Planialtimetría con plantas y cortes del tendido del sistema de cañería conforme a obra.

· Planos de detalle de los cruces especiales conforme a obra.

§ Planos de detalles de equipos y sus instalaciones, incluidas las fundaciones, conforme a obra.

· Planos de edificios y sus instalaciones, conforme a obra.

· Especificaciones y certificaciones de los materiales utilizados.

· Memoria de cálculo conforme a obra.

Registro de protocolos de comisionado de las tuberías (pruebas hidrostáticas, calidad del agua de prueba, disposición final, secado, etc).

Líquidos de Gas Natural (LGN): mezcla de hidrocarburos compuesta por todos los productos más pesados que el metano contenido en el gas natural. Los componentes predominantes son Etano, Propano y Butano. Se encuentran en estado gaseoso en condiciones normales de presión y temperatura, pero para facilitar su almacenamiento y transporte, son convertidos a estado líquido, mediante modificaciones de las condiciones de presión y temperatura.

MAPO: Es la Máxima Presión Admisible de Operación.

Operador: persona física o jurídica responsable de operar un sistema de transporte de hidrocarburos líquidos en el marco de la Ley Nº 17.319.

Petróleo Crudo: mezcla de hidrocarburos líquidos en su estado natural u obtenida por condensación o extracción del gas de yacimiento y que permanece en estado líquido bajo condiciones normales de presión y temperatura. A los efectos de su transporte en sistemas concesionados debe hallarse desalinizada, deshidratada, desgasificada, puesta en tanque, reposada y estabilizada.

Planta de Tratamiento de Crudo (PTC): instalaciones en las que se trata el petróleo crudo — separándose el agua, gases y sales— hasta alcanzar las condiciones de comercialización.

Siniestro: daño grave a las personas, el ambiente y/o instalaciones.

Sistema de Cañerías: todas las partes de las instalaciones físicas a través de las cuales el hidrocarburo líquido es conducido incluyendo caños, válvulas, accesorios y elementos fijos al caño, respondiendo a diferentes configuraciones de acuerdo al Esquema de la Figura 400.1.

CAPITULO II: DISEÑO

PARTE 1: CONDICIONES Y CRITERIOS

401 CONDICIONES DE DISEÑO

401.1 [A] Generalidades

[ A ] El profesional responsable del diseño también deberá considerar las vibraciones y las pulsaciones inducidas que podrán originar tensiones cíclicas excesivas para los materiales seleccionados.

[ A ] Categorización de productos transportados:

El producto a ser transportado debe ser clasificado en una de las dos categorías (ver 400.2 DEFINICIONES), de acuerdo al potencial de peligrosidad que presenta frente a la seguridad pública y el ambiente.

§ Fluidos Categoría A.

§ Fluidos Categoría B.

[ A ] Clases de Trazado

La unidad de clase de trazado es una superficie que se extiende 200 metros a cada lado del eje longitudinal de un tramo continuo del sistema de cañería de 1600 metros.

Excepto lo previsto en los párrafos c.2) y e) de esta sección, la clase de trazado queda determinada por la cantidad de edificios dentro de la unidad de clase de trazado.

Para los propósitos de esta sección, cada unidad de vivienda en un edificio de múltiples viviendas deberá ser contada como un edificio separado destinado a ocupación humana.

a) Clase 1 de trazado

Corresponde a la unidad de clase de trazado que contiene 10 o menos unidades de vivienda destinadas a ocupación humana. También corresponden a clase 1 los trazados costa afuera. Dentro de la Clase 1, se considera una sub-clase denominada Clase 1 - División1, que corresponde a la unidad de clase de trazado que no contiene unidades de vivienda y caracteriza a superficies o áreas de campos destinados a pastoreo o labranza, aledañas a áreas de explotación de hidrocarburos sin ocupación humana.

b) Clase 2 de trazado

Corresponde a la unidad de clase de trazado que tiene más de 10, pero menos de 46 unidades de vivienda destinadas a ocupación humana.

c) Clase 3 de trazado

Corresponde a:

c1. Cualquier unidad de clase de trazado que contiene 46 o más unidades de vivienda destinadas a ocupación humana; o

c2. Una zona donde la cañería esta colocada dentro de los 100 metros de cualquiera de los siguientes casos:

c3. Un edificio que es ocupado por 20 o más personas durante el uso normal;

c4. Un área pequeña, abierta, definida, que es ocupada por 20 o más personas durante el uso normal, tales como un campo de deportes o juegos, una zona de recreación, teatros al aire libre, u otros lugares de reunión pública.

d) Clase 4 de trazado

Corresponde a la unidad de Clase de trazado donde predominan edificios, con cuatro o más pisos sobre el nivel de terreno.

e) Los límites de las clases de trazado determinadas de acuerdo con los párrafos a) hasta d) de esta sección deben ser ajustados como se indica a continuación:

· Una clase 4 de trazado finaliza a 200 metros del edificio más próximo de cuatro o más pisos sobre el nivel del terreno.

· Cuando un grupo de edificios destinados a ocupación humana requiere una Clase 3 de trazado, ésta finalizará a 200 m de los edificios más próximos del grupo.

· Cuando un grupo de edificios destinados a ocupación humana requiere una Clase 2 de trazado, ésta finalizará a 200 m de los edificios más próximos del grupo.

401.2 Presión

401.2.2 [ A ] Presión de Diseño Interior

[ A ] Se debe controlar y calcular el bombeo adecuadamente así como proveer equipo de protección para prevenir la elevación de presión perjudicial en caso de que se produzca.

401.3 Temperatura

401.4 Influencias del Ambiente

401.5 [ A ] Efectos Dinámicos

401.5.1 Impacto

[ A ] 401.5.2 Viento

En el diseño de cañería suspendida deben adoptarse previsiones para soportar el efecto de la carga del viento, al respecto deben consultarse las normas del Centro de Investigación de los Reglamentos Nacionales de Seguridad para Obras Civiles (CIRSOC).

[ A ] 401.5.3 Sismos

Al respecto el profesional responsable calculará las tensiones compuestas de un sismo, teniendo en cuenta la acción conjunta de las tensiones longitudinales, circunferenciales y del esfuerzo de corte sobre la cañería. El factor de utilización, relación entre la tensión compuesta y la TFME (Tensión de Fluencia Mínima Especificada), debe ser menor que el 95%. Debe consultarse y aplicarse, en lo que corresponde, las normas, las clasificaciones, y los planos del Instituto Nacional de Prevención Sísmica (INPRES).

401.5.4 Vibraciones

401.5.5 Subsidencias

401.5.6 [ A ] Olas y corrientes

En el diseño de cañerías que cruzan vías de aguas (arroyos, ríos, canales) deben adoptarse precauciones para evitar los efectos de las olas y las corrientes.

Se deberá considerar en el caso de ríos de llanura el cauce actual y el cauce histórico, para determinar el ancho del cruce. En ríos de montaña se deberán considerar los efectos de arrastre de sólidos y los cambios de densidad correspondientes.

En las zonas inundables —estacional o permanentemente— se preverá el contrapesado de la cañería.

401.6 Efectos del Peso

401.6.1 Cargas vivas

401.6.2 Cargas muertas

a) [ A ] Tapada

Toda línea de transporte enterrada debe ser instalada con una tapada mínima de acuerdo a la Tabla [A] 401.6.2 (a), con excepción de lo dispuesto en el punto b) de esta sección.

TABLA [A] 401.6.2 (a) Tapada mínima

UBICACION

SUELOS NORMALES

ROCA COMPACTA (1)

Trazado Clase 1

0,80 m

0,45 m

Trazado Clase 2, 3 y 4

1 m

0,60 m

Bajo solera de drenajes de cruces de caminos, Carreteras y ferrocarriles

1,20 m

 

0,60 m

 

Nota (1) Para considerar la tapada mínima indicada en "roca", el caño, incluido su revestimiento, debe estar totalmente alojado en la zanja cavada en la roca.

b) La cañería a ser instalada en una vía navegable, arroyo o puerto, deberá tener la tapada necesaria para que el garrado de las anclas u otros elementos no lo lastime, pero la tapada mínima en el lecho no será menor a 1,20 metros en suelo y 0,60 m en roca compacta.

La cañería instalada costa afuera sumergida en aguas de 3,60 m de profundidad, medida desde el nivel medio de bajamar, debe tener una tapada mínima de 0,90 m en suelo y 0,45 m en roca compacta entre el lomo del caño y la superficie del lecho.

Las acometidas a la costa tendrán la tapada necesaria para proteger a la cañería de la acción de las olas, las erosiones del lecho de cualquier naturaleza como bajamares y pleamares, debiendo la cañería tener un recubrimiento de espesor adecuada de hormigón con malla metálica que le dé el peso negativo necesario y la proteja mecánicamente.

Si la técnica de tendido de la cañería es la perforación dirigida, no perturba el ambiente y no es necesaria la obtención de flotación negativa. El profesional responsable del trabajo, debe previamente efectuar las perforaciones estratigráficas necesarias para conocer el suelo, sus características y el grado de consolidación.

401.7 Cargas de Expansión y Contracción Térmica

401.8 Movimientos Relativos de los Componentes Conectados con la Cañería

402 CRITERIOS DE DISEÑO

402.1 Generalidades

402.2 Series para los componentes de cañería en función de la Presión y Temperatura

402.3 Tensiones Admisibles y Otros Límites de Tensión

402.3.1 [ A ] y [ R ] Valores de Tensiones Admisibles

a) [ R ] Se reemplazará el factor de diseño único 0.72 del código ASME B31.4 por el factor de diseño variable F. Según corresponda de la Tabla [R] 402.3.1(a).

La fórmula de aplicación será:

S = F x E x TFME

TABLA [R] 402.3.1.(a) - Factores de Diseño (F)

Para fluidos categoría A (no distingue clase de trazado)

UBICACIÓN

 

Ruta general (a través de campo)

0.72

Cruces e invasiones paralelas sobre: Caminos menores

0.72

Rutas sin caño camisa, FFCC, canales, ríos, defensas de diques y lagos

0.6

Cruces por áreas naturales protegidas o de sensibilidad particular

0.6

Trampas de lanzamiento de scraper

0.5

Cañería de acometida a plantas y terminales *

0.5

Construcciones especiales tales como prefabricados y caños sobre puentes

0.5

Para fluidos categoría B (distingue factor de diseño por clase de trazado)

Clase de Trazado

1

2

3

4

Que atraviesa clase 1, 2, 3 o 4 respectivamente

0.72

0.6

0.5

0.4

Cruces y traza paralela que invade:

       

a) Caminos menores

0.72

0.6

0.5

0.4

b) Rutas, FFCC, canales, ríos y cruces de agua

0.6

0.6

0.5

0.4

Cruces por áreas naturales protegidas o de sensibilidad particular

0.6

0.6

0.5

0.4

Trampas de lanzamiento de scraper

0.5

0.5

0.4

0.4

Cañería de acometida a plantas y terminales *

0.5

0.5

0.4

0.4

Construcciones especiales, tal como prefabricados y cruces en puentes

0.5

0.5

0.4

0.4

* El diseño de la cañería utilizando los factores correspondientes se iniciaran a 200 metros del perímetro de las misma y terminará al inicio de ellas.

402.4 Tolerancias

402.4.1 [ A ] Corrosión

[ A ] En el caso de que el producto transportado tenga una composición conocida o presumida que haga necesario el uso de sobre espesor por corrosión, el operador deberá calcular el mismo con métodos idóneos reconocidos.

PARTE 2: DISEÑO DE COMPONENTES DE CAÑERIA SOMETIDOS A PRESION

403 CRITERIO PARA EL DISEÑO DE COMPONENTES DE CAÑERIA

404 PRESION DE DISEÑO DE LOS COMPONENTES

404.1 Caño Recto

404.1.1 General

a) [A] Los espesores nominales mínimos recomendados para las cañerías de acero, serán los de la tabla [A] 404.1.1(a).

TABLA [A] 404.1.1(a)

Espesores nominales mínimos recomendados para caño recto de extremo plano en milímetros.

 

Diámetro nominal

Clase Trazado

Clase Trazado

Clase Trazado

Pulgadas

mm.

1

2

3 y 4

3

88,9

2,1

2,5

2,5

4

114,3

2,1

3

3

6

168,3

2,1

3,4

4

8

219,1

3,2

3,4

4,4

10

273

4

4,2

4,8

12

323,8

4,4

4,4

5,2

14

355,6

4,8

4,8

5,3

18

457,2

4,8

4,8

6,4

20

508

4,8

4,8

6,4

24

609,6

5,6

5,6

6,4

30

762

5,6

6,4

7,7

36

914,4

5,6

6,4

7,9

 

404.2 Segmentos Curvos de Cañería

404.3 Intersecciones

404.5 Presión de Diseño de Bridas

404.6 Reducciones

404.7 Presión de Diseño de Otros Componentes que Soportan Presión

PARTE 3: APLICACIONES DEL DISEÑO PARA LA SELECCION DE COMPONENTES DE CAÑERIA Y SUS LIMITACIONES

405 CAÑO

405.2 Caño Metálico

406 ACCESORIOS, CODOS, CURVAS E INTERSECCIONES

406.1 Accesorios

406.2 Curvas, Ingletes y Codos

406.3 Cuplas

406.4 Reducciones

406.5 Intersecciones

406.6 [ A ] Tapas

[ A ] Inspeccionabilidad de las Cañerías Mediante Herramientas Inteligentes

a. Con excepción a lo estipulado en los párrafos b) y c) de la presente sección, cada nueva cañería que se instale, o cada vez que se reemplace una sección de cañería, válvula, accesorio u otro componente, los mismos deberán ser diseñados y construidos de manera de permitir el pasaje de las herramientas de inspección interna.

b. Esta sección no se aplica a:

1. Colectores.

2. Cañería de instalaciones tales como estaciones de bombeo, estaciones de medición o regulación.

3. Cañería asociada a playa de tanques u otras instalaciones de almacenamiento.

4. Cruces aéreos.

5. Diámetros tales que la inspección interna no está disponible comercialmente.

c. Un operador que debido a razones inesperadas se vea forzado a construir un nuevo reemplazo de un segmento de cañería que no cumple con lo estipulado en el párrafo a) de la presente sección, podrá construir el mismo siempre que a los 30 días de realizada la construcción de emergencia presente un informe donde demuestre la impracticabilidad de realizar una construcción que permita la inspección interna, respaldado con la documentación técnica correspondiente. Si dicha petición es denegada el operador deberá realizar las modificaciones necesarias para hacer la línea inspeccionable.

407 VALVULAS

407.1 Generalidades

407.8 Válvulas Especiales

408 BRIDAS, CARAS DE BRIDAS, JUNTAS Y ESPARRAGOS

408.1 Bridas

408.3 Caras de Bridas

408.4 Juntas

408.5 Espárragos

409 MATERIALES Y ELEMENTOS USADOS

PARTE 4: SELECCION Y LIMITACIONES DE LAS UNIONES DE CAÑERIAS

411 UNIONES SOLDADAS

411.2 Soldadura a tope

412 UNIONES BRIDADAS

412.1 Generalidades

414 UNIONES ROSCADAS

414.1 Generalidades

418 MEDIACAÑAS, CUPLAS Y OTRAS UNIONES PATENTADAS

418.1 Generalidades

PARTE 5: EXPANSION, FLEXIBILIDAD, ACCESORIOS ESTRUCTURALES, SOPORTES Y RESTRICCIONES

419 EXPANSION Y FLEXIBILIDAD

419.1 Generalidades

419.5 [ A ] Flexibilidad

[ A ] Al calcular la flexibilidad de un sistema, este debe ser tratado como un todo.

Debe considerarse la característica de cada uno de los componentes y todas las restricciones existentes, como ser soportes y guías. Los cálculos deben tener en cuenta los factores de intensificación de tensiones que se han comprobado en componentes que no son los de la simple cañería recta.

Las propiedades del caño y los accesorios para estos cálculos deben estar basadas en sus dimensiones nominales y debe tomarse el factor de junta igual a 1.

En los cálculos de expansión no interesa si la cañería fue curvada en frío o no, debiendo el profesional a cargo del diseño considerar la temperatura máxima. Además de la expansión de la línea en si misma, deben considerarse los movimientos lineales y angulares de los equipos conectados al sistema.

419.5.1 Recursos Para Proveer Flexibilidad

419.6 [ R ] Propiedades

419.6.1 [ R ] Coeficiente de expansión térmica

La expansión térmica de los materiales comunes usados para caños debe determinarse a partir de las tablas existentes en los manuales de ingeniería que informan los valores de los coeficientes de dilatación, debiendo considerar la máxima temperatura de operación prevista y la temperatura media del ambiente durante la instalación.

419.6.2 Módulo de elasticidad

419.6.4 Valores de tensión

419.7 Análisis

420 CARGAS SOBRE LOS ELEMENTOS QUE SOPORTAN CAÑERIA

420.1 Generalidades

421 DISEÑO DE LOS ELEMENTOS DE SOPORTE DE CAÑERIA

421.1 Soportes, Abrazaderas y Anclajes

PARTE 6: CAÑERIAS AUXILIARES Y OTRAS

422 REQUERIMIENTOS DE DISEÑO

422.3 Instrumentos y otras cañerías Auxiliares de Petróleo

422.6 Cañería de alivio de Presión

CAPITULO III: MATERIALES

423 MATERIALES, REQUERIMIENTOS GENERALES

423.1 [ A ] y [ R ] Materiales y especificaciones aceptadas

[ R ] (a) Aquellos materiales metálicos y no metálicos que no se encuentren especificados el Código ASME B 31.4, deberán ser autorizados previo a su uso por la Autoridad de Aplicación de acuerdo a lo indicado en la sección 400 de este Reglamento.

[ A ] (b) Cada válvula, accesorio, tira de caño y demás componentes del sistema de cañerías debe estar marcado:

1. Como lo estipula la especificación o norma según la cual se fabricó.

2. Indicando el diámetro, el material, el fabricante, el régimen de presión y de temperatura y si corresponde, tipo, grado y modelo.

3. La marcación debe ser aplicada de manera que no se dañe el caño o componente ni los recubrimientos y deberá permanecer visible hasta que el sistema de cañerías sea instalado.

La marcación servirá para adoptar las precauciones necesarias para asegurar que los elementos solo se utilicen dentro de los limites reales de temperaturas y tensiones para los cuales esta habilitado para el servicio.

423.2 [ A ] Limitación de Materiales

[ A ] Para cualquier otro tipo de material diferente al acero que quiera ser utilizado, se deberá realizar la consulta con 180 días de anticipación a la presentación del proyecto a la Autoridad de Aplicación, adjuntando la norma en la cual esta basado el uso del material, antecedentes, etc., como así todos los datos que le sean pedidos al respecto. La Autoridad de Aplicación deberá responder si considera satisfactorio o no el proyecto, dentro de un período no mayor a 90 días a partir del momento en que la empresa complete toda la información que le sea requerida. Este plazo podrá ampliarse si existieran razones que lo justifiquen.

425 MATERIALES APLICADOS A PARTES MISCELANEAS

Tabla 423.1 Materiales normalizados

CAPITULO IV: REQUISITOS DIMENSIONALES.

426 REQUISITOS DIMENSIONALES PARA COMPONENTES DE CAÑOS NORMALIZADOS Y NO NORMALIZADOS

426.1 Componentes de cañerías normalizados

426.2 Componentes de cañerías no normalizados

426.3 Roscas

Tabla 426.1 Normas dimensionales

CAPITULO V: CONSTRUCCION, SOLDADURAS Y MONTAJE

434 CONSTRUCCION

434.1 Generalidades

434.2 [ A ] Inspección

[ A ] a) El operador debe realizar las inspecciones a través de personal capacitado ya sea por formación académica o entrenamiento debiendo contar con experiencia apropiada.

La inspección debe asegurar que todo el trabajo se realice conforme a las especificaciones del operador y a las normas que sean de aplicación, tanto en el ámbito nacional como local.

El inspector debe estar autorizado para ordenar reparaciones, remociones y reemplazos de cualquier componente que no conforme los requisitos mencionados en el párrafo anterior.

El operador debe reunir y conservar todos los registros necesarios que documenten las modificaciones efectuadas, que deben contar con su conocimiento y aval.

b) Todo tramo de caño y de otros componentes, deben ser inspeccionados visualmente en el sitio de instalación, como mínimo, para asegurar que no hayan sufrido ningún daño visible que pudiera afectar su grado de eficiencia.

Se deberá tener en cuenta:

1. Las inspecciones en obra para localizar arañazos o estrías inadecuadas deben efectuarse antes del revestimiento, cuando se hace en obra, y durante las operaciones de bajada y tapada en todos los casos.

2. Los desgarramientos y defectos del revestimiento de protección deben ser cuidadosamente examinados antes de repararlos, determinando siempre si el material base fue también dañado.

3. Todas las reparaciones, reposiciones y modificaciones se inspeccionarán antes de ser cubiertas.

4. Para otros materiales distintos al acero, aprobados por la Autoridad de Aplicación, son válidos los conceptos anteriormente vertidos. La inspección deberá prestar principal atención durante la construcción, entre otras cosas a detectar cortes, ranuras, raspones, deformaciones e imperfecciones.

434.3 Derecho de paso

434.3.1 [ A ] Ubicación

[ A ] Se debe seleccionar la traza de manera de minimizar la posibilidad de riesgo asociado con la morfología y comportamiento del terreno, la existencia de accidentes geográficos significativos de cualquier clase, la posible falla de la instalación y el consecuente daño ambiental. Respetando asimismo, el futuro desarrollo urbano e industrial y la existencia de comunidades aborígenes.

Se debe efectuar una detallada evaluación de las condiciones planialtimétricas del lugar, estudiar el escurrimiento de las vías de agua existentes y sus alteraciones históricas, priorizar los tendidos que corran paralelos a caminos, vías férreas o picadas existentes evaluando la posibilidad de efectuar el tendido en la zona de influencia (zona de camino o ferrocarril), garantizando la accesibilidad permanente durante la construcción y después, durante la operación y el mantenimiento, a cualquier punto del conducto.

Para Fluidos Categoría A, ninguna cañería puede ser colocada dentro de los 7.5 metros de una construcción privada, instalación industrial o pública. En caso que inevitablemente la cañería deba pasar a una distancia menor a la prescripta en este Reglamento Técnico (RT), el operador deberá proveer medidas de protección adicionales que aseguren la integridad del sistema. Ver Tabla [A] 434.3.1.

Para Fluidos Categoría B, las distancias de seguridad se corresponden con las distancias mínimas desde el eje de la cañería al límite indicado en la tabla que sigue. Ver Tabla [A] Tabla 434.3.1.

TABLA [A] 434.3.1 Tabla de distancias de seguridad (en metros)

NOTAS:

(1) Las válvulas deben ubicarse bajo tierra, preferentemente en cámaras. De acuerdo con el estudio de riesgo que efectúe el operador, las válvulas pueden requerir ser telecomandadas además de ser operables manualmente.

(2) No existen viviendas, ni lugares cerrados o abiertos donde habitualmente se reúnan más de 20 personas.

(3) El espesor de la cañería se calculará con un factor de diseño F = 0,5 en una longitud de 200 m aguas arriba y abajo de los edificios extremos del grupo que determina la clase de trazado.

(4) El espesor de la cañería se calculará con un factor de diseño F = 0,4 en una longitud de 200 m aguas arriba y abajo de los edificios extremos del grupo que determina la clase de trazado.

(5) La MAPO máxima será 17,5 kgr. / cm2 (17,1 bar). El espesor de la cañería se calculará con un factor de diseño F = 0,4 en una longitud de 200 m aguas arriba y abajo de los edificios extremos del grupo que determina la clase de trazado.

(6) En casos especiales estas distancias podrán reducirse utilizando una tensión circunferencial máxima del 20% de la TFME y aumentando la tapada. Esta disminución de distancias no podrá superar el 20%.

(7) En todos los casos es importante determinar la influencia de la inducción sobre la cañería y mitigarla de manera que no tenga influencia negativa sobre su integridad (NACE RP 0177). Las distancias se miden entre el eje de la línea de transporte a los límites de la servidumbre o a la proyección de la línea AT en su movimiento pendular correspondiente a la hipótesis de viento máximo, sobre el suelo, lo que resulte más exigente.

AT: alta tensión.

MT: media tensión.

En la tabla 434.3.1 figuran las distancias mínimas desde el eje de la cañería al límite de la propiedad donde se pueda construir un edificio, normalmente habitable, para sistemas de cañerías que son diseñadas, construidas y mantenidas conforme a los requerimientos de este Reglamento.

El estudio de la ruta de la traza de la cañería será el resultado de un análisis de riesgo, como parte de una evaluación de seguridad.

PROTECCION EXTRA O SOBREPROTECCION

El diseño de una cañería puede requerir una protección adicional para prevenir daños provenientes de condiciones inusuales.

La típica sobreprotección puede provenir de una o de una combinación de algunas de las siguientes medidas:

a. incremento del espesor de la pared del caño;

b. protección adicional encima del caño;

c. aplicación al caño de un revestimiento de hormigón, hormigón armado u otro producto similar;

d. utilización de un revestimiento de mayor espesor para mejorar la protección catódica;

e. incremento de la tapada;

f. utilización de mayor cantidad de mojones y cartelería de advertencia;

g. colocación sobre el caño de medias cañas soldadas para soportar cargas vivas;

h. protección de la cañería aérea de la acción de impactos diversos;

i. detección efectiva de pérdidas en tiempo y forma;

j. bloqueo rápido de la línea.

434.3.2 [ A ] Requerimientos de construcción

[ A ] Elegida la traza definitiva entre las posibles, el profesional responsable debe identificar a los propietarios y superficiario para gestionar los permisos de paso correspondientes de acuerdo a la normativa vigente.

Debe minimizar las molestias y daños inevitables, brindando la máxima seguridad a la población.

(a) [ A ] Debe aplicar la Guía para la prevención de daños sobre infraestructuras del operador por actividades de voladuras propias o de terceros, que está contenida en el Apéndice O.

434.3.3 [ A ] Inspección y estaqueado o marcado

[ A ] Una vez elegida la traza definitiva, y antes de iniciar el zanjeo en la pista de trabajo se estaqueará toda la línea indicando las progresivas kilométricas, el inicio y el final de las curvas horizontales y verticales, de los cruces especiales (ríos, carreteras y vías férreas), y de cualquier otro accidente topográfico que exija un tratamiento constructivo especial.

Si las instalaciones están ubicadas costa afuera, debe gestionarse ante la Autoridad Marítima responsable la marcación de la futura traza en las cartas náuticas, utilizando todos los medios necesarios para advertir a las embarcaciones de la existencia de cañerías de refulado, barcos de tendido y almacenamiento, dragas, remolcadores, etc.

434.4 Manipuleo, transporte, desfile y almacenamiento

434.5 [ A ] Daños a elementos prefabricados y caños

[ A ] a) Las imperfecciones y daños que afecten el grado de eficiencia de un tramo de caño de acero, colector, trampa scraper, etc. sin uso, deben ser reparados o eliminados. Si la reparación se realiza por amolado, el espesor de la pared remanente debe ser por lo menos igual a cualquiera de los siguientes puntos:

· El espesor mínimo requerido conforme con las tolerancias admitidas por las especificación con la cual el caño fue fabricado; o

· El espesor de pared nominal requerido para la presión de diseño de la cañería.

434.6 [ A ] Zanjeo.

[ A ] Antes de iniciar el zanjeo el constructor debe contar con toda la documentación necesaria que lo autorice a ingresar a los inmuebles para iniciar posteriormente, a través de los métodos de la mecánica de suelos, la determinación de las características de los mismos y sus propiedades principales a lo largo de toda la traza (limites de Atterberg, resistividades, consolidaciones, durezas, niveles de las napas freáticas, etc.).

Una vez reunida la información necesaria, seleccionará los métodos de zanjeo y el ancho de la pista de trabajo, que deberá ser el menor posible.

Se obtendrá la profundidad necesaria de la zanja, de manera de asegurar la tapada exigida, en forma progresiva, de manera tal de lograr el curvado vertical de la cañería naturalmente.

En ningún caso se forzara el tendido del conducto, respetando siempre los radios de curvado mínimos permitidos por el presente Reglamento Técnico (RT):

La profundidad de la zanja debe ser adecuada para la ubicación de la cañería de acuerdo a las características del terreno, y a las sobrecargas impuestas por los cruces de rutas y caminos, ferrocarriles y demás circunstancias existentes, debiendo ser instaladas por debajo del nivel normal de los cultivos.

Excepcionalmente y con autorización expresa de la Autoridad de Aplicación, la cañería tendrá una tapada menor que la indicada en la Tabla [A] 401.6.2 (a), si se proporciona una protección adicional para que soporte las cargas externas previstas.

La ubicación de estructuras subterráneas, que cruzan la traza, debe ser determinada con anticipación a las actividades de zanjeo, previendo daños que pudieran ocasionarse.

Se debe proporcionar un espacio libre de 0,50 m entre la superficie exterior de la cañería y cualquier otra estructura subterránea existente.

Los cruces de la cañería con otros conductos mantendrá el espacio libre indicado, intercalándose entre ellos placas de material resistente y duradero que señale la existencia de la línea de transporte y la proteja.

434.7 Curvas, ingletes y codos

434.7.1 Curvas confeccionadas a partir de caño

434.7.2 Curvas a Inglete (Tipo miter)

434.7.3 [ A ] Curvas y codos confeccionados en fábrica

[ A ] Los cambios de dirección se pueden hacer a través del curvado del caño o bien por la instalación de curvas o codos fabricados en taller:

Curvas

El espesor de la pared del caño antes de ser curvado será determinado como en el caso de caño recto. Las curvas deberán estar dentro de las limitaciones de deformación de este Reglamento. A fin de modificar los efectos de la expansión y la contracción, algunas piezas de los tendidos de cañerías pueden ser curvadas en frío, y esto puede ser tomado en cuenta en los cálculos de reacción, siempre que se especifique y se use un método efectivo.

Codos

El espesor mínimo del metal de codos bridados o roscados, no será menor al especificado en el American National Standard o el MSS Standard Practice, para las presiones y temperaturas correspondientes.

Los codos de acero para soldar a tope deberán cumplir con ASME B16.9, ASME B16.28 o MSS SP-75 y deberán tener la serie de temperatura y presión basada en los mismos valores de tensión que los usados al establecer las limitaciones de temperatura y presión para cañerías del mismo material o equivalente.

Las curvas en caño de acero ejecutadas en obra, que no sean curvas corrugadas hechas de acuerdo con el presente Reglamento, deberán cumplir con lo siguiente:

a. No deben restringir la eficiencia de la cañería.

b. Para caños mayores de 100mm de diámetro nominal, la diferencia entre el diámetro máximo y el mínimo de la sección en una curva no podrá ser mayor del 2,5% del diámetro nominal.

c. Toda curva debe tener un contorno liso y estar libre de ondulaciones, agrietamientos, o cualquier otro defecto mecánico.

d. En los caños con costura longitudinal, ésta deberá encontrarse tan cerca como sea posible del eje neutro de la curva, a menos que:

i. La curva esté confeccionada con un mandril interior de curvado.

ii. El caño tenga un diámetro exterior menor o igual a 305 mm, o tenga una relación de diámetro a espesor menor que 70.

e. Toda soldadura circunferencial que esté ubicada donde la tensión producida durante el curvado cause una deformación permanente en el caño, deberá ser ensayada por métodos no destructivos, antes y después del proceso de curvado.

f. Los segmentos transversales de los codos forjados de acero para soldar, no podrán ser usados para cambios de dirección en caños de diámetro mayor o igual a 100 mm, a menos que la longitud del arco, medido sobre la curva interna, sea por lo menos de 50 mm (2").

g. Toda curva que no sea corrugada fabricada de acuerdo con el presente Reglamento, deberá tener un perfil suave y estar libre de daños mecánicos.

h. El curvado en caliente de los caños trabajados en frío o con tratamiento térmico, debe estar diseñado de acuerdo con este Reglamento.

434.8 Soldadura

434.8.1 [ A ] Generalidades

[ A ] La soldadura debe ser realizada por soldadores calificados según el Código API 1104 de acuerdo con procedimientos escritos ex profeso, que hayan sido calificados de acuerdo con este Reglamento, para realizar soldaduras buenas y dúctiles.

Cada procedimiento de soldadura será registrado en detalle, incluyendo los resultados de los ensayos de calificación.

Este registro será archivado y mantenido en uso mientras continúe siendo utilizado y formará parte del legajo técnico de la documentación "conforme a obra" del sistema de cañerías de que se trate.

434.8.2 Procesos de soldadura y metal de aporte

434.8.3 [ A ] Calificación de soldadores y procedimientos de soldadura

[ A ] El carbono equivalente basado en el análisis del producto, no excederá 0,43 para grados X 70 y X 65; y 0,41 para grados X 60 y menores.

El cálculo del carbono equivalente será efectuado aplicando la siguiente expresión:

C eq. = C + Mn/6 + (Cr + Mo + V)/5 + (Ni + Cu)/15

Para grados mayores debe ser consultada la especificación que corresponda.

434.8.4 Normas para soldaduras

434.8.5 [ M ] Requerimientos de inspección y criterios de aceptación

[ M ] (a) (3) Las inspecciones serán del 100% de las soldaduras de producción de la línea hasta tanto se compruebe la inexistencia de rechazos, luego serán de un mínimo del 10% de las completadas diariamente seleccionadas en forma aleatoria por el operador.

434.8.6 Tipos de soldadura, diseño de juntas y niples de transición

434.8.7 Remoción o reparación de defectos

434.8.8 Precalentamiento y temperatura entre pasadas

434.8.9 Alivio de tensión

434.9 Empalmes

434.10 [ A ] Instalación del caño en la zanja

[ A ] La cañería debe ser instalada de manera de adaptarse a la zanja, reduciendo al mínimo las tensiones que puedan originarse en ella, y protegiendo el revestimiento de posibles deterioros.

El relleno de la zanja debe proveer a la línea de apoyo firme, evitando daños de cualquier clase, incluso aquellos originados en los propios equipos de construcción o en el relleno.

Cualquier caño ubicado costa afuera con una profundidad de 3,60 m bajo el agua, pero no más de 200 m medidos desde el nivel de bajamar media, se instalará de modo tal que la parte superior del caño esté por debajo del fondo natural, salvo que, por razones justificadas, deba estar soportado por pilotes, sujetado por anclajes o con revestimiento pesado de hormigón armado, o protegido por medios equivalentes.

1. Consideraciones generales de instalación

a. En los sistemas de cañerías que operan a tensiones del 20% o más de la TFME, resulta importante minimizar las tensiones inducidas por la construcción. El caño debe acomodarse en la zanja sin el uso de fuerzas exteriores que lo mantengan en su lugar hasta completar el relleno.

b. Inspecciones:

En tierra:

b.1.Se debe inspeccionar el estado del fondo de la zanja, antes de bajar la cañería.

b.2.Se debe inspeccionar la superficie del revestimiento del caño a medida que se baje a la zanja. Las rayaduras y otros defectos en el revestimiento pueden indicar que la cañería ha sido dañada después de haber sido aplicado.

b.3.Se inspeccionará la acomodación del caño antes de proceder a rellenar.

Costa afuera:

b.4.La superficie del revestimiento anticorrosivo será inspeccionada antes de aplica el lastrado.

b.5. El lastrado debe ser inspeccionado antes de soldar cada caño.

c. Protección de cada unión de cañería:

En tierra:

c.1.Como prevención, se recomienda que los tramos de 1000 a 1500 m de cañería soldada sean sometidos a una prueba de fuga a 1/10 de la MAPO, previo al revestimiento de sus juntas y a la bajada a la zanja.

c.2.Antes del tendido de los tramos construidos en el fondo de la zanja, debe limpiarse internamente la cañería, manteniendo siempre con tapas las bocas de los extremos libres.

Costa afuera:

c.3.En la barcaza del tendido, cada unión soldada será protegida con el revestimiento correspondiente, y se colará el hormigón de lastre dentro de un molde o encofrado "perdido", a menos que el procedimiento constructivo contemple un tiempo de curado suficiente.

434.11 [ A ] Relleno

[ A ] En tierra firme:

El relleno deberá proporcionar un apoyo firme y continuo a la cañería, depositando en principio una "cama" de suelo seleccionado firme de 20 cm de espesor.

En un río y costa afuera, el relleno de la cañería tendida se completará totalmente, restituyéndose el lecho a las condiciones originales.

El relleno de la zanja costa afuera se logrará por el método y con el material más adecuado a las circunstancias existentes, hasta lograr el nivel original. Sólo se permite que la deposición natural se complete hasta el 50% de la altura del relleno, si se presentaran estudios confiables de sedimentación marina que aseguren la restitución de la tapada original en un tiempo adecuado, nunca más allá de los seis meses.

En este último caso, si existe la posibilidad de garrado de anclas, es obligación del operador antes de la puesta en servicio del sistema de cañerías, correr un scraper calibrador en el tramo afectado.

434.12 [ A ] Restauración de la pista y limpieza

[ A ] El constructor de la línea finalizará el completamiento electromecánico, antes del inicio de las primeras maniobras de operación, con la limpieza y recolección de todos los elementos extraños indeseables incluidas las piedras provenientes de voladuras y procederá a la restauración de la pista a las condiciones ambientales iniciales, excepto en aquellos aspectos en que la mecánica de suelos indique alguna modificación para preservar la integridad de la cañería.

La sobremonta de suelo sobre la tapada no tendrá una altura superior a 30/40 cm y nunca se convertirá en un divisor de aguas superficiales.

434.13 [ A ] Cruces especiales

[ A ] Las soldaduras circunferenciales serán radiografiadas en el 100% de los casos.

434.13.1 Cruces de agua

434.13.2 [ A ] Estructuras elevadas

[ A ] Las memorias de cálculo, los planos de detalle y demás especificaciones formarán parte del legajo técnico de obra, integrando la documentación de obra que el operador debe conservar durante toda la vida útil del sistema de cañerías.

434.13.3 [ A ] Instalación sobre puentes

[ A ] Son consideraciones básicas del diseño la utilización de bridas aislantes en las acometidas a la estructura existente, así como la colocación de válvulas de bloqueo confiables en el ingreso y en la salida.

434.13.4 [ A ] Cruces de carreteras y vías férreas

[ A ] Caño Camisa

1. Se permite el relleno entre el caño principal y la camisa con materiales no conductores e incombustibles apropiados.

2. La consideración principal en este tipo de cruces es la seguridad pública y la prevención de daños a la cañería de transporte. La cañería del cruce, en toda zona ferroviaria y de camino debe mantenerse a la profundidad mínima constante, y será de al menos 1,20 m por debajo de las soleras de las cunetas.

3. El profesional responsable debe evaluar los componentes de tensión cíclicos, para controlar las fallas por fatiga.

4. Si se sellan los extremos del caño camisa sin venteos, la camisa debe diseñarse de modo de mantener dicha presión a un nivel de tensión de no más del 72% de la TFME.

5. El caño camisa debe tener protección catódica.

[ A ] Perforaciones dirigidas

En caso de realizarse perforaciones dirigidas se deberá reunir información preliminar representativa con el objeto de ajustar las variables fundamentales del proyecto.

Los parámetros a considerar para la realización de una perforación dirigida son:

1. Caracterización del lugar, que debe incluir:

· Factores Geológicos;

· Aspectos geotécnicos;

· Detalles topográficos e hidrográficos; y

· Exploración del lugar.

2. Consideraciones generales de diseño, que debe incluir:

· Definición del obstáculo a sortear;

· Diseño y definición del perfil de la perforación;

· Especificación de la cañería; y

· Definición del revestimiento externo de la cañería.

3. Análisis de tensiones en la cañería, que debe incluir:

§ Tensiones y cargas propias de la instalación; y

§ Tensiones y cargas propias de la operación.

4. Estudio de impacto ambiental, de acuerdo a lo establecido en la Disposición de la Subsecretaría de Combustibles Nº 56 del 4 de abril de 1997 o la normativa que la reemplace.

5. Se deberán realizar ensayos de aislamiento eléctrico, conforme a los lineamientos de la norma NACE-RP-01-69 (última edición).

434.14 Construcción sobre tierra firme y aguas costeras

434.15 Válvulas de bloqueo y aislamiento

434.15.1 Generalidades

434.15.2 Válvulas de la línea principal

434.15.3 [ A ] Válvulas en la estación de bombeo, Playas de tanques y Terminales

[ A ] En todos los casos las válvulas de entrada y salida de las estaciones de bombeo y de las playas de tanques y terminales deben estar ubicadas a la distancia de seguridad indicada en la Tabla [A] 434.3.1, de manera tal que un accidente con fuego no pueda afectar su funcionamiento. Dichas válvulas estarán instaladas en cámaras subterráneas y el operador determinará la necesidad de operarlas a distancia.

434.16 Conexiones a líneas principales

434.17 [ A ] Trampas Scrapers

[ A ] La trampa scraper y sus componentes deben montarse de acuerdo con lo especificado en el presente Reglamento y la presión de prueba aplicada tendrá los mismos límites que los de la cañería troncal.

Estará equipada con los dispositivos de seguridad capaces de aliviar de manera segura la presión interior antes de introducir o extraer los scrapers.

El operador debe disponer de los instrumentos y dispositivos adecuados para conocer si la presión ha sido liberada, y si no lo ha sido, un enclavamiento debe impedir la apertura de la tapa.

La trampa debe poseer señalizadores que indiquen el ingreso o la salida de esferas y scrapers.

434.18 Marcación de la línea principal

434.19 Control de la corrosión

434.20 Construcción de estaciones de bombeo, playa de tanques y terminales

434.20.1 Generalidades

434.20.2 Ubicación

434.20.3 Instalación de edificios

434.20.4 Equipo de bombeo y generador principal

434.20.5 [ A ] Cañería de estación de bombeo, playa de tanques y terminales

[ A ] Los conductores de energía y fuerza motriz que alimentan motores, equipos, tableros, edificios, columnas de alumbrado, etc., estarán adecuadamente distanciados de aquellos circuitos de control e instrumentación, de manera de evitar la existencia de ruido magnético.

Cuando se instalen en tierra se dispondrán en trincheras o cañeros prolijamente construidos e instalados, dentro de los edificios y fuera de ellos, y cuando corresponda se dispondrán dentro de conductos conforme lo dispone la NFPA 70.

434.20.6 Equipo de control y protección

434.20.7 [ A ] Protección contra el fuego

[ A ] Debe realizarse en un todo de acuerdo con la Ley Nº 13.660 y su Decreto Reglamentario Nº 10877/60 y la norma para el Proyecto, Construcción y Operación de Plantas de Almacenamiento de gases licuados de Petróleo NAG-112.

Pueden utilizarse como norma de consulta la NFPA 30 y en ese caso aplicará siempre la más exigente.

Si el sistema instalado requiere los servicios de bombas contra incendio, la energía de alimentación de las mismos será independiente de la alimentación de energía de la instalación principal, de manera que en una emergencia la parada y/o bloqueo de la misma no las afecte.

434.21 Tanques para almacenamiento y trabajo

434.21.1 Generalidades

434.21.2 [ A ] Ubicación

[ A ] Cuando corresponda deben respetarse las distancias en las instalaciones fijadas por la Ley Nº 13.660 y su Decreto Reglamentario Nº 10.877/60, y la Norma para el Proyecto, Construcción y Operación de Plantas de Almacenamiento de Gases Licuados de Petróleo, NAG-112. En caso de diferencias de criterio entre las normas mencionadas prevalecerá el criterio más exigente.

434.21.3 Tanques y almacenamiento tipo caño

434.21.4 [ A ] Fundación

[ A ] Las fundaciones construidas de conformidad con especificaciones y planos detallados, tendrán en cuenta las condiciones locales del suelo, el tipo de tanque, el uso y la ubicación geográfica.

Tendrá especialmente en cuenta si están ubicados en zonas sísmicas, para lo cual el operador debe consultar y aplicar las normas y especificaciones del Instituto de Prevención Sísmica (INPRES).

434.21.5 [ A ] Diques y paredes contra fuego

[ A ] En la estación de bombeo perteneciente a la cañería troncal, en playas de tanques y en otras instalaciones, la protección contra daños por incendios provenientes de instalaciones vecinas, como también la salvaguarda del público en general, puede indicar la necesidad de muros de contención y/o pantallas contra fuego alrededor de los tanques o entre tanques y la estación de bombeo y/u otras instalaciones.

Los muros de contención y las pantallas contra fuego, donde sea necesario, serán construidas de acuerdo a los requerimientos de la Ley Nº 13660 y su Decreto reglamentario 10.877 del 9 de septiembre de 1960, y las normas NFPA 30 y NAG 112.

En el caso de especificaciones distintas, siempre se aplicará la más estricta.

434.22 Instalación eléctrica

434.22.1 Generalidades

434.22.2 Cuidado y manipuleo de materiales

434.22.3 Instalaciones

434.23 Medición de líquido

434.24 Separadores de Líquidos y Filtros

435 MONTAJE DE COMPONENTES DE CAÑERÍA

435.1 Generalidades

435.2 Uniones con espárragos

435.3 Cañerías para las unidades de bombeo

435.4 Colectores

435.5 Cañería auxiliar para petróleo

CAPITULO VI: INSPECCION Y PRUEBAS

436 INSPECCION

436.1 Generalidades

436.2 Inspectores

436.5 Tipo y alcance de los exámenes requeridos

436.5.1 Visual

436.5.2 Tipos de exámenes complementarios

436.6 Reparación de defectos

437 PRUEBAS

437.1 Generalidades

437.1.3 Pruebas de los ítems fabricados

437.1.4 Pruebas después de una nueva construcción

437.4 Prueba de Presión

437.4.1 [ A ] y [ R ] Prueba Hidráulica

[ R ] (a) Para los fluidos Categoría A en todas las clases de trazado, el sistema de cañería deberá ser sometido a una prueba hidráulica con un valor de presión equivalente a no menos de 1,25 veces la presión interna de diseño (apartado 401.2.2) durante un lapso no menor de 4 horas continuas.

Para fluidos Categoría B, el sistema de cañería será sometido a una prueba hidráulica con un valor equivalente a no menos de multiplicar el factor indicado en la tabla siguiente por la presión interna de diseño (sección 401.2.2), durante un lapso no menor de 4 horas continuas. Ver Tabla [A] 437.4.1 (a).

TABLA [A] 437.4.1(a) - Factor de Prueba Hidráulica

 

Fluidos categoría B y Clase de Trazado

Factor de Prueba Hidráulica

Clase 1

1,25

Clase 1- División 1

1,25

Clase 2

1,25

Clase 3

1,5

Clase 4

1,5

 

Nota 1 - Para tramos instalados costa afuera, no ubicados sobre plataformas de producción, el factor es 1,25.

Nota 2 - Para tramos ubicados sobre plataformas costa afuera o en aguas interiores, incluyendo la acometida costera, el factor es 1,5.

Para la acometida el factor será 1,5 desde la línea de las más altas mareas hasta una profundidad de 9 metros, tomados con referencia al nivel medio del mar.

Cuando las cañerías sean probadas a presiones que desarrollen una tensión circunferencial, basada en el espesor nominal de la pared, que excedan al 90% de la tensión de fluencia mínima especificada del caño, se deberá considerar los requerimientos descriptos en el procedimiento de la Sección N 5.0 del apéndice N del Código ASME B31.8.

[ R ] (c) La prueba hidráulica, debe ser realizada con agua de naturaleza tal que no sea perjudicial para la cañería, por lo cual se elimina la posibilidad de utilizar agua de producción o salada. En caso que las condiciones operativas no permitan el uso de agua, se solicitará a la Autoridad de Aplicación la utilización de otro tipo de fluido junto con los elementos que justifiquen tal solicitud.

[ A ] (g) El operador confeccionará un protocolo de la prueba con los detalles y datos correspondientes incluyendo los gráficos y registros, conteniendo como mínimo la siguiente información:

1. Datos de calibración de los instrumentos utilizados.

2. El nombre del operador, el nombre del empleado del operador o contratista responsable de la realización de la prueba, el nombre de la compañía contratada si fuera el caso.

3. La fecha de la prueba y tiempo empleado.

4. Fluido de prueba utilizado y su composición.

5. Las cartas de registro de presiones y otros registros de lectura de presión y temperatura.

6. Variaciones de elevaciones que sean significativas (más de 30 m).

7. Pérdidas y fallas registradas junto con su ubicación.

8. Temperatura del medio de prueba y de la cañería durante la prueba.

9. Al menos los registros y protocolos de la última prueba efectuada al sistema de cañerías debe permanecer archivada mientras permanezca en servicio.

437.4.3 Prueba de hermeticidad

437.6 Ensayos de certificación

437.6.1 Examen Visual

437.6.2 Propiedades de flexión

437.6.3 Determinación del espesor de pared

437.6.4 Determinación del factor de junta de soldadura

437.6.5 Soldabilidad

437.6.6 Determinación de la tensión de fluencia

437.6.7 Tensión de fluencia mínima

437.7 Registro

437.7.1 Curvas confeccionadas a partir de caño

[A] (e). En un caño con soldadura longitudinal, la costura debe estar tan cerca como sea posible del eje neutro de la curva, a menos que:

i. La curva fuera confeccionada con un mandril interior para doblado; o

ii. El caño tenga un diámetro nominal igual a 324 mm.(12 3/4 in) o menor, o que tenga una relación entre el diámetro nominal respecto al espesor de pared del caño menor que 70.

CAPITULO VII: PROCEDIMIENTOS DE OPERACION Y MANTENIMIENTO

450 PROCEDIMIENTOS DE OPERACION Y MANTENIMIENTO QUE AFECTAN LA SEGURIDAD DE LOS SISTEMAS DE TUBERIAS DE TRANSPORTE

450.1 Generalidades

450.2 [ A ] Planes y Procedimientos de Operación y Mantenimiento

[ A ] a) Los procedimientos de mantenimiento del sistema de protección anticorrosiva estarán incluidos en el Manual de Mantenimiento del operador (MM), mientras que las actividades correspondientes a la inspección interna mediante herramientas inteligentes estarán incluidas en el Plan de Gerenciamiento de Integridad (PGI) del Capítulo X del presente Reglamento.

[ A ] b) Las medidas preventivas y mitigativas adicionales que el operador decida implementar deberán estar alineadas con lo definido en este Capítulo y con las recomendaciones del Plan de Gerenciamiento de Integridad (PGI).

[ A ] c) Los procedimientos relacionados con el análisis de las fallas no deben constar en el Manual de Mantenimiento (MM), sino que estarán incluidos entre los procedimientos del Plan de Gerenciamiento de Integridad (PGI)

[ A ] d) Las áreas que presentan mayor riesgo al público y al ambiente (áreas sensibles) están determinadas en el Plan de Gerenciamiento de Integridad (PGI) mientras que los procedimientos específicos de cómo llevar a cabo las actividades y los registros correspondientes estarán contenidos en el manual de Mantenimiento (MM).

451 OPERACION Y MANTENIMIENTO DE CAÑERIAS

451.1 [ A ] Máxima Presión de Operación Admisible (MAPO)

[ A ] a) Excepto para ondas de presión u otras variaciones de la presión normal, no se podrá operar un caño a una presión que exceda cualquiera de las siguientes:

1. La presión de diseño del caño será determinada de acuerdo a la sección 402.3, si alguno de los parámetros de la fórmula de diseño fueran desconocidos se podrá utilizar una de las siguientes presiones como presión de diseño:

i. La presión que resulta de afectar con el factor K (Ver Tabla [A] 451.1(1)) la presión de prueba que produce fluencia, siguiendo el procedimiento de la sección N 5.0 del apéndice N del Código ASME B31.8. Se deberán considerar los factores determinados en la sección 402.3; o

ii. Para caño de diámetro igual o menor a 324 mm (12 ¾) que no fue probado bajo esta sección será 1379 kPa (200 p.s.i.)

TABLA [A] 451.1( 1 ) - Factores K para la determinación de la MAPO

Tipo de Fluido y Clase

Factor

Fluido categoría "A" (para todas las clases de trazado)

1,25

Fluidos categoría "B"

 

Clase 1

1,25

Clase 2

1,25

Clase 3

1,5

Clase 4

1,5

NOTA 1: Para tramos instalados costa afuera, no ubicados sobre plataformas, el factor es 1,25

NOTA 2: Para tramos ubicados sobre plataformas costa afuera o en aguas interiores, incluyendo la acometida, el factor es 1,5.

2. La presión de diseño del componente más débil del sistema.

3. La presión que resulta de afectar con el factor K la presión de prueba de cualquier porción de la cañería que haya sido probada siguiendo los lineamientos de la sección 437.

4. La presión que resulta de afectar con el factor K la presión de prueba en fábrica o prueba prototipo para cualquier componente individual exceptuado de prueba hidráulica según lo determinado en la sección 437.1.4.

5. Para caños que no hallan s.ido probados bajo la sección 437, corresponde la máxima presión de operación al que el mismo ha sido sometido en los últimos 5 años durante un período mayor a 4 horas contínuas con registros fehacientes de tal situación.

b) Ningún Operador permitirá variaciones de la presión de operación normal que excedan el 110% de la presión establecida en el punto a) de esta sección. Para ello deberá disponer de los equipos de protección y control que garanticen dichos límites.

451.2 Comunicaciones

451.3 Marcadores y carteles de la línea

451.4 Mantenimiento de Picada

451.5 Patrullaje

451.6 Reparación de Caños

451.6.c [ A ] Dispositivos de Seguridad Contra Sobre Presión y Sobrellenado

[ A ] A fin de determinar el buen funcionamiento, la correcta condición mecánica y la adecuada capacidad y disponibilidad del servicio, el operador deberá inspeccionar y probar los dispositivos limitadores de presión, válvulas de alivio, reguladores de presión y otros elementos y equipos de control de presión, con la siguiente frecuencia:

· Para fluidos Categoría A: al menos una vez al año y que el intervalo no supere los 15 meses.

· Para fluidos Categoría B: al menos 2 veces al año y que el intervalo no supere los 7 meses y medio.

451.6.d [ A ] Programa de Prevención de daños

El operador deberá implementar un Plan de Prevención de Daños siguiendo los lineamientos del Apéndice N del presente Reglamento.

451.6.1 Generalidades

451.6.2 [ A ] Remoción de Defectos

[ A ] A fin de determinar el tipo de reparación necesaria, la evaluación de los defectos se llevará a cabo de acuerdo a lo establecido en el Capítulo X, el cual completa lo indicado en este punto.

451.6.3 Requerimientos de prueba de reparaciones para cañerías que operan a un nivel de tensión superior al 20% de la Tensión Mínima de Fluencia Especificada

451.7 [ A ] Reducción de la Presión de Operación en Cañerías

[ A ] c) El operador podrá utilizar los procedimientos de cálculo de presión de falla incorporados en el capítulo X del presente Reglamento Técnico (RT) a los fines de calcular la reducción de presión necesaria ante el conocimiento de defectos en la cañería.

d) El operador deberá mantener procedimientos para reducir la presión de operación en los casos en que se realizan tareas sobre la cañería tales como:

· Nuevas derivaciones mediante hot tap.

· Reparaciones de defectos (volumétricos, planos o geométricos), considerando la severidad de los mismos.

· Investigación de defectos (volumétricos, planos o geométricos) considerando la severidad de los mismos.

· Renovación del revestimiento.

· Instalación o remoción de anclajes sobre la cañería.

· Recomposición de tapada sobre cañería o trabajos de movimientos de suelo.

· Excavaciones.

· Reparación de fugas o pérdidas.

· Contacto con la cañería por terceros.

· Vandalismo.

· Desplazamiento del terreno o situaciones donde la cañería queda expuesta.

451.8 [ R ] Mantenimiento de Válvulas

[ R ] a) El operador deberá mantener las válvulas en condiciones de ser correctamente operables en todo momento.

b) Todo operador debe inspeccionar las válvulas de línea para determinar su correcto funcionamiento, al menos dos veces al año y que el intervalo no supere los 7 meses y medio.

c) Todo Operador debe proveer los medios necesarios para garantizar la protección de las válvulas contra la acción de vandalismo y evitar la operación no autorizada.

451.9 Cruces de vías o caminos sobre cañerías existentes

451.10 Acometidas a plataformas en aguas interiores

452 OPERACION Y MANTENIMIENTO DE ESTACIONES DE BOMBEO, TERMINALES Y PLAYAS DE TANQUES

452.1 Generalidades

452.2 Equipamiento de Protección y Control

452.3 Recipientes de Almacenamiento

452.4 Almacenamiento de Materiales Combustibles

452.5 Cercos Perimetrales

452.6 Señales

452.7 Prevención de Ignición Accidental

453 CONTROL DE LA CORROSION

454 PLAN DE EMERGENCIA

455 REGISTROS

456 CALIFICACION DE UNA CAÑERIA PARA OPERAR A UNA PRESION MAYOR

457 [ A ] DESAFECTACION Y ABANDONO DE INSTALACIONES

[ A ] Las cañerías a ser desafectadas o abandonadas deberán ser tratadas siguiendo los lineamientos del apéndice P.

477 [ A ] Movimiento de Cañería

Ningún operador podrá mover un caño, a menos que la presión de operación sea reducida a un valor de seguridad respecto de la presión operativa y confirmada mediante cálculo.

CAPITULO VIII: CONTROL DE LA CORROSION

460 GENERAL

461 CONTROL DE LA CORROSION EXTERNA PARA CAÑERIAS ENTERRADAS O SUMERGIDAS

461.1 Instalaciones Nuevas

461.1.1 [ R ] General

[ R ] (a) El control de la corrosión externa deberá ser aplicado a la totalidad de las cañerías nuevas (enterradas o sumergidas) de acuerdo con la Práctica Recomendada NACE RP-01-69 ultima revisión.

461.1.2 [ A ] Revestimiento Protector

[ A ] (a) (6) Los revestimientos a emplear deberán ser resistentes a los hidrocarburos y al despegue catódico.

461.1.3 Sistema De Protección Catódica

461.1.4 Aislación Eléctrica

461.1.5 [ R ] Puntos De Medición

[ R ] (a) Para instalaciones en tierra se colocarán puntos de medición de potenciales a intervalos de 1 Km (+/- 10%), pudiéndoselos desplazar sólo en aquellos casos que resulte de difícil cumplimiento.

En el caso de líneas sumergidas, en tramos con una longitud mayor a 1,5 Km se utilizarán relevamientos de potenciales continuos (empleando metodología reconocida internacionalmente) entre los puntos extremos de la línea a fin de controlar y garantizar los niveles de protección.

461.1.6 Interferencia Eléctrica

461.2 Sistemas de Cañerías Existentes

461.3 [ A ] Monitoreo

[ A ] (b) (1) Se deberán llevar a cabo relevamientos continuos de potenciales (CIPS) estructura medio OFF (sin corriente aplicada) y ON (con corriente aplicada), en los siguientes casos:

· Cuando no se pueda garantizar los potenciales entre los puntos kilométricos de monitoreo.

· En zonas protegidas con sistemas galvánicos interconectados a la cañería a través de cajas de conexión.

· Para el caso de ánodos galvánicos conectados directamente a la cañería, el operador deberá instalar cajas de interconexión que permitan desvincularlos, o presentar una tecnología alternativa.

· En aquellas zonas donde se registren fallas por corrosión no concordantes con los datos históricos de los niveles de protección catódica en ellas.

· En todos aquellos casos que se detecten problemas de interferencia de cualquier tipo.

La frecuencia de los relevamientos será responsabilidad del operador quien deberá garantizar el control anticorrosivo. En ningún caso el lapso entre monitoreos será mayor de 15 meses.

462 CONTROL DE LA CORROSION INTERNA

462.1 Instalaciones Nuevas

462.2 Cañerías Existentes

462.3 Monitoreo

463 CONTROL DE LA CORROSION EXTERNA PARA CAÑERIAS EXPUESTAS A LA ATMOSFERA

463.1 Instalaciones Nuevas

463.2 Cañerías Existentes

463.3 Monitoreo

464 MEDIDAS CORRECTIVAS

465 REGISTROS

CAPITULO IX: SISTEMAS DE CAÑERIAS COSTA AFUERA PARA HIDROCARBUROS LIQUIDOS

A 400 CONSIDERACIONES GENERALES

A 400.1 [ R ] Alcance

[ R ] Ver figura 400.1

A 400.2 [ A ] y [ R ] Definiciones

[ A ] Bucle ( arruga ): Estado de deformación plástica al que llegó la cañería para provocar una deformación permanente en la pared del caño o una deformación causada por cargas de flexión, axiales, impacto y/o torsionales, actuando solas o en combinación con la presión hidrostática.

[ R ] Costa afuera: Territorio que permanece bajo el agua, lindante con la tierra firme de la cual lo separa el límite denominado costa seca. Incluye la plataforma continental.

[ A ] Costa seca: Límite convencional determinado por el alcance de las aguas sobre tierra firme por la acción de las bajas mareas mínimas medias.

A 401 CONDICIONES DE DISEÑO

A 401.1 Generalidades

A 401.1.1 Condiciones de diseño costa afuera

A 401.9 Consideraciones del diseño de instalación

A 401.9.1 Cargas para el diseño de instalación

A 401.9.2 Cargas de instalación

A 401.9.3 Cargas ambientales durante la instalación

A 401.9.4 Suelos del lecho

A 401.10 Consideraciones de diseño operacionales

A 401.10.1 Cargas para el diseño operacional

A 401.10.2 Cargas operacionales

A 401.10.3 Cargas ambientales durante la operación

A 401.10.4 Suelos del lecho

A 401.11 Consideraciones de diseño para la prueba hidrostática

A 401.11.1 Cargas para el diseño de la prueba hidrostática

A 401.11.2 Cargas de la prueba hidrostática

A 401.11.3 Cargas ambientales durante la prueba hidrostática

A 401.11.4 [ A ] Suelos del lecho

[ A ] Cuando las características morfológicas del suelo, sus cualidades intrínsecas o la acción del medio inciden de una manera inapropiada sobre las cañerías y tuberías flexibles, es necesario estabilizarlas.

Los métodos elegidos por el operador responsable del diseño, construcción y operación deben ser los que mejor se adapten a las circunstancias particulares del problema, pero para su determinación es necesario conocer las características del suelo, para lo cual utilizará las técnicas que la mecánica de suelos le ofrece.

La tabla A 401.11.4 que se adjunta a la sección, brinda una guía práctica que puede resultar útil (ver ASTM-D-1586).

Tabla A 401.11.4 Datos para la clasificación del suelo.

Notas:

- caliche: capas de suelo cuyos granos están cementados por carbonatos calcáreos o nitratos de sílice.

- marga: arcillas marinas calcáreas compactas de color verdoso.

- gneiss: pizarra de feldespato, cuarzo, y mica.

- loess: depósitos eólicos de suelo muy fino, uniforme, con poca cohesión.

A 401.12 Consideraciones para la selección de la ruta

A 402 CRITERIOS DE DISEÑO

A 402.3 Tensiones admisibles y otras tensiones límites

A 402.3.4 Criterio de resistencia durante la instalación y la prueba

A 402.3.5 Criterio de resistencia durante las operaciones

A 402.3.6 Diseño por expansión y flexibilidad

A 402.3.7 Diseño de abrazaderas y soportes

A 402.3.8 Diseño de conectores y bridas

A 402.3.9 Diseño de protectores estructurales de la acometida de la cañería

A 402.3.10 Diseño y protección de montajes especiales

A 402.3.11 Diseño de caño flexible

A 402.3.12 [ A ] y [ R ] Diseño de cruces de cañerías

[ R ] Los cruces de cañerías submarinas serán diseñados para proveer 50 centímetros de separación entre las dos líneas

[ A ] Cuando las cañerías que cruzan están gobernadas por diferentes códigos, los límites de las tensiones admisibles para cada una estarán de acuerdo con las previsiones del código que es de aplicación

A 402.4 Tolerancias

A 402.4.3 Factores para junta soldada

A 404 PRESION DE DISEÑO DE COMPONENTES

A 404.1 Caño recto

A 404.1.1 Generalidades

A 404.3 Intersecciones

A 404.3.1 Conexiones en derivación

A 405 CAÑERIA

A 405.2 Cañería metálica

A 405.2.1 Caño de acero

A 405.3 Caño flexible

A 406 ACCESORIOS, CODOS, CURVAS E INTERSECCIONES

A 406.2 Curvas, ingletes y codos

A 406.2.2 Curvas a inglete

A 406.4 Reducciones

A 406.4.2 Tapones de superficie rugosa

A 406.6 Cierres

A 406.6.4 Cierres fabricados

A 407 VALVULAS

A 407.1 Generalidades

A 408 BRIDAS, CARAS, JUNTAS Y ESPARRAGOS

A 408.1 Bridas

A 408.1.1 Generalidades

A 408.3 Caras de bridas

A 408.3.1 Generalidades

A 409 COMPONENTES Y EQUIPOS USADOS PARA CAÑERIAS

A 410 OTRAS CONSIDERACIONES DE DISEÑO

A 410.1 Scrapers y herramientas internas de inspección

A 410.2 Componentes especiales

A 414 UNIONES ROSCADAS

A 414.1 Generalidades

A 419 EXPANSION Y FLEXIBILIDAD

A 421 DISEÑO DE ELEMENTOS SOPORTES DE CAÑERIA

A 423 MATERIALES - REQUERIMIENTOS GENERALES

A 423.1 Materiales aceptables y especificaciones

A 423.2 [ A ] Limitaciones de los materiales

[ A ] ( i ) Temperaturas tan bajas que impactan en las propiedades de los materiales.

A 434 CONSTRUCCION

A 434.2 Inspección

A 434.3 Derecho de paso

A 434.3.3 Reconocimiento y estaqueado o marcado

A 434.4 Manipuleo, transporte, almacenamiento y desfile

A 434.6 Zanjeo

A 434.7 Curvas, ingletes y codos

A 434.7.1 Curvas hechas a partir de caño

A 434.8 Soldadura

A 434.8.3 Calificación de soldaduras

A 434.8.5 Calidad de soldadura

A 434.8.9 Alivio de tensión

A 434.11 Relleno

A 434.13 Cruces especiales

A 434.13.1 Cruces de agua

A 434.14 Construcción de cañería costa afuera

A 434.14.1 Profundidad y alineación del caño

A 434.14.2 Procedimientos de instalación y selección de equipos

A 434.14.3Movimientos de las cañerías existentes

A 434.15 Válvulas para bloqueo y aislamiento

A 434.15.1 Generalidades

A 434.18 [ A ] Señalización de la línea

[ A ] La traza georreferenciada estará señalada en las cartas náuticas, advirtiendo sobre la prohibición de fondeo en un entorno de un kilómetro a ambos lados de la línea. De la misma manera está prohibida la pesca de fondo en la misma área

A 436 INSPECCION

A 436.2 Calificación de inspectores

A 436.5 Tipo y contenido de los exámenes requeridos

A 436.5.1 Visual

A 437 PRUEBAS

A 437.1 Generalidades

A 437.1.4 Prueba después de una nueva construcción

A 437.4 Presión de prueba

A 437.4.3 Prueba de pérdidas

A 437.6 Calificación de las pruebas

A 437.7 Registros

A 450 PROCEDIMIENTOS DE OPERACION Y MANTENIMIENTO QUE AFECTAN LA SEGURIDAD DE LOS SISTEMAS DE TRANSPORTE DE LIQUIDOS

A 450.2 Planes y procedimientos de operación y mantenimiento

A 451 OPERACION Y MANTENIMIENTO DE LA CAÑERIA

A 451.3 Marcadores - Mojones

A 451.4 Mantenimiento del derecho de paso

A 451.5 Patrullaje

A 451.6 Reparación de cañerías

A 451.6.1 Generalidades

A 451.6.2 Disposiciones sobre defectos

A 451.6.4 Reparación del caño flexible

A 451.7 Calificación de una cañería a una presión de operación menor

A 451.8 Mantenimiento de válvulas

A 451.9 Cruces de cañerías existentes con ferrocarriles y carreteras

A 451.10 Acometidas a Plataformas en aguas interiores

A 451.11 Inspección

A 452 OPERACION Y MANTENIMIENTO DE PLATAFORMA, ESTACION DE BOMBEO, TERMINAL Y PLAYA DE TANQUES COSTA AFUERA

A 452.5 Cercado

A 452.7 Prevención por ignición accidental

A 452.7.1 [ A ] Protección y resistencia al fuego de las estructuras

Los materiales estructurales estándares como los aceros y hormigones armados, pierden mucho de su resistencia al estar sometidos a elevadas temperaturas y por lo tanto fallan durante su exposición al fuego.

Los soportes estructurales de recipientes que contienen líquidos inflamables deberán tener una resistencia al fuego de no menos de 2 horas. Pero si el recipiente mismo ha sido diseñado para resistir el fuego, sus soportes lo harán por 4 horas.

De la misma manera se tratarán los equipos críticos, que a criterio del operador tienen una carga potencial de fuego importante.

El código BGC/PS/SFP1 y la norma BS 476 pueden servir como elementos de consulta.

A 454 PLAN DE EMERGENCIA

A 460 Generalidades

A 461 CONTROL DE LA CORROSION EXTERNA PARA CAÑERIAS SUMERGIDAS COSTA AFUERA

A 461.1 Instalaciones nuevas

A 461.1.1 Generalidades

A 461.1.2 Revestimiento protector

A 461.1.3 Sistema de protección catódica

A 461.1.4 Aislación eléctrica

A 461.1.5 Cargas de pruebas

A 461.1.6 Interferencias eléctricas

A 461.3 Monitoreo

A 463 CONTROL DE LA CORROSION EXTERNA PARA SISTEMAS DE CAÑERIA COSTA AFUERA EXPUESTA A CONDICIONES ATMOSFERICAS

 

A 463.1 Instalaciones nuevas

CAPITULO X [ A ]: PLAN DE GERENCIAMIENTO DE INTEGRIDAD

PARTE 1: INTRODUCCION Y OBJETIVOS

501 INTRODUCCION

501.1 Generalidades

Esta sección describe un proceso para gerenciar la integridad de un sistema de transporte de hidrocarburos líquidos. Dicho proceso se describe en el gráfico "Elementos del Plan de Gerenciamiento de Integridad".

Estos elementos en conjunto proveen la base para un plan de gerenciamiento de integridad comprensivo, sistemático e integrado.

Las definiciones de la terminología utilizada en el presente Capítulo se encuentran en la sección 504.

501.2 Propósitos y Objetivos

El objetivo del presente Capítulo de este Reglamento es que los operadores de sistemas de transporte de hidrocarburos líquidos por cañerías, implementen un Plan de Gerenciamiento de Integridad (PGI), que a través de la sistematización y análisis de la información, permita adecuar las prácticas de Operación y Mantenimiento, evitando la ocurrencia de derrames o fugas que puedan dañar a los empleados, al público en general, al ambiente y a otras instalaciones.

Atento a ello, se requiere que dichos operadores desarrollen planes de integridad que contengan las siguientes acciones básicas:

· Evaluación de los riesgos derivados de las amenazas existentes en los distintos tramos del sistema de cañerías.

· Evaluación de la integridad de las cañerías, después de haber implementado el Plan de Relevamiento Base (PRB), al menos cada 5 años, mediante herramientas de Inspección Interna (II) o Prueba Hidráulica (PH).

· Reparación de los defectos encontrados con tiempos de respuesta prescriptos según su severidad.

· Implementación de Acciones Preventivas y Mitigativas Adicionales (APyMA) para Areas Sensibles (AS).

· Informar a la Autoridad de Aplicación en forma periódica los planes a implementar en el ciclo anual próximo y los resultados del ciclo anual anterior y las desviaciones a los requerimientos que en el presente Reglamento se especifican.

· Implementación de un Plan de Gerenciamiento de Integridad (PGI) que garantice el cumplimiento de las disposiciones de esta sección.

501.3 Elementos del Plan de Gerenciamiento de Integridad (PGI)

El PGI se implementará en distintas etapas, a saber:

· Recopilar e integrar la información existente.

· Elaborar un Análisis de Riesgo Básico (ARB).

· Elaborar un Plan de Relevamiento Base (PRB).

· Elaborar un Plan de Respuesta (PR).

A partir de este punto, se inicia un ciclo anual o proceso continuo en el cual se implementarán las siguientes actividades planificadas:

· Realizar las inspecciones planificadas (Inspección Interna (II), Prueba Hidráulica (PH) o cualquier otro medio que garantice un nivel de comprensión equivalente).

· Realizar las reparaciones que surjan del resultado de las inspecciones.

· Actualizar, integrar y revisar la información colectada.

· Recalcular el riesgo con la experiencia acumulada del ciclo anterior.

· Elaborar un Plan de Colección y Mejora de Datos (PCyMD).

· Revisar el Plan de Inspección (PI) y el Plan de Acciones Preventivas y Mitigativas Adicionales (APyMA).

§ Evaluar la efectividad del sistema.

501.4 Requerimientos Generales del Plan de Gerenciamiento de Integridad (PGI)

El operador deberá desarrollar y documentar los procedimientos de inspección, evaluación y reparación de los sistemas de transporte así como documentar el proceso que garantice la revisión y mantenimiento del PGI.

A través del PGI se analizarán todas las amenazas aplicables a cada tramo de los sistemas de transporte alcanzado por el presente Reglamento.

Se analizará toda la información disponible y se definirá un Plan de Colección y Mejora de Datos (PCyMD) para los tramos en que no se disponga de información con la calidad y cantidad acorde con las necesidades del PGI.

La información que soporta al PGI (documentos y registros) deberá estar contenida en una base de datos.

El operador deberá implementar un sistema de evaluación de riesgos Análisis de Riesgo (AR) que le permita desarrollar la planificación de las actividades de Integridad.

Para las Areas Sensibles (AS) se implementarán Acciones Preventivas y Mitigativas Adicionales (APyMA) para minimizar el riesgo.

El operador deberá desarrollar y documentar criterios y procedimientos para reparar los defectos que detecte mediante las inspecciones periódicas estipuladas en el presente Reglamento. Dichos defectos serán evaluados y de acuerdo a su condición de severidad serán clasificados como de reparación inmediata, con plazos de hasta 60 días ó 180 días.

El PGI deberá ser revisado y actualizado en forma anual y un conjunto mínimo de información deberá ser presentado a la Autoridad de Aplicación en forma mandatoria. Se reportarán también un conjunto de indicadores de eficiencia de gestión.

El presente Capítulo está íntimamente relacionado con el de Operación y Mantenimiento (Capítulo VII). En el PGI se indica el ¿qué? y el ¿cuándo?, mientras que el ¿cómo inspeccionar, mantener y reparar? debe estar incluido en el manual de Operación y Mantenimiento del operador.

Ante un incidente el operador deberá presentar el Informe inmediato siguiendo los lineamientos indicados en la Resolución de la SECRETARIA DE ENERGIA Nº 24 del 12 de enero de 2004, o la normativa que la reemplace en el futuro.

El Operador deberá presentar en el término de 120 días de ocurrido el incidente un Informe Final de Derrame, Fuga o Rotura que indicará claramente las causas que produjeron los mismos y los mecanismos de falla actuantes (ver Anexo 2).

Se deberá elaborar y mantener actualizado un programa escrito de capacitación de personal propio y contratado que desarrolle las tareas inherentes a este Reglamento.

El operador deberá establecer un organigrama que determine las responsabilidades que competen a las diferentes tareas a las que involucra el presente Reglamento. Asimismo deberá informar a la Autoridad de Aplicación quien será el Responsable Técnico e Interlocutor autorizado en lo referente a la implementación del PGI. Debiéndolo mantener actualizado ante cada cambio que se produzca.

El cronograma de cumplimiento que se establece en el presente Capítulo es de carácter mandatario.

501.5 Principios Guía

Existen ciertos principios que sostienen el desarrollo del presente Capítulo, los mismos se reflejan a lo largo de las distintas secciones y se describen a continuación con el objeto de mostrar un sentido más amplio de la integridad de las instalaciones.

· La integridad debe ser constituida a partir del planeamiento, diseño y construcción. El gerenciamiento de la integridad de una cañería comienza con el diseño correcto y la construcción de la línea. Las guías mínimas para un correcto diseño se proveen en este Reglamento. El diseñador deberá contemplar las características del tipo de fluido e impacto sobre el ambiente que produciría una falla. El diseño no es parte de este capítulo, sin embargo las especificaciones de diseño e información conforme a obra proveerán una importante información de base para el PGI.

· El PGI será desarrollado por personal capacitado, utilizando procesos definidos para operar y mantener las instalaciones. La integridad de una instalación física es solamente parte del sistema completo que permite al operador reducir tanto el número de incidentes así como los efectos que producen dichos incidentes. El sistema integral también incluye las personas que operan las instalaciones y el proceso de trabajo que los empleados usan y siguen. Un PGI debe comprender a las personas, procesos e instalaciones.

· El PGI debe ser flexible. El programa debe estar hecho a la medida de las condiciones del sistema y del operador. Además, el programa debe ser evaluado y actualizado en forma continua incorporando los cambios en el diseño, operación, ambiente, obras de terceros o propias en las cercanías y las actualizaciones de la información de operación y mantenimiento. La evaluación continua es necesaria para asegurar que el programa toma las ventajas que ofrecen las nuevas tecnologías, que acompaña a las necesidades del negocio del operador y que efectivamente apunta a los objetivos planteados para la integridad.

Los Operadores tienen muchas opciones para manejar los riesgos. Los componentes de las instalaciones pueden ser cambiados, se puede reforzar la capacitación del personal que opera el sistema, se pueden cambiar los procesos o procedimientos o implementar la combinación de actividades que provea el mayor impacto sobre la reducción del riesgo.

· La integración de la información es un elemento clave para manejar la integridad del sistema. Para el proceso de decisión de las actividades de gerenciamiento de integridad es fundamental la integración de la información disponible. La información que puede impactar en el entendimiento de los riesgos más importantes a la integridad de los sistemas puede provenir de las más variadas fuentes. El operador es quien está en la mejor posición para colectar y analizar dicha información. Integrando esa información es que podrá tomar las decisiones más prudentes para reducir el riesgo.

· Preparar y conducir un Análisis de Riesgo (AR) es imprescindible para manejar la integridad de un sistema. La evaluación de riesgo es un proceso analítico a través del cual el operador determinará las distintas adversidades o condiciones que pueden impactar sobre la integridad del sistema, la probabilidad de que esos eventos o condiciones vayan en detrimento de la integridad, la naturaleza y severidad de las consecuencias que puedan ocurrir luego a causa de una falla, fuga o rotura. Este proceso analítico comprende la integración y el análisis de los datos de diseño, construcción, operación, mantenimiento, pruebas, y otras informaciones acerca del sistema. El Análisis de Riesgo (AR) puede tener varios alcances, variando los niveles de detalle y los métodos utilizados. No obstante, el objetivo final de evaluar riesgo es identificar y priorizar los riesgos mas significativos permitiendo al operador tomar decisiones apropiadas acerca de dichos temas.

· La evaluación del riesgo es un proceso continuo. El Análisis de Riesgo (AR) de un sistema es un proceso interactivo. El operador debe periódicamente colectar información adicional del sistema y de la experiencia. Esta información debe ser incorporada al proceso de análisis de riesgo y el operador deberá, de acuerdo a la relevancia de los nuevos datos, ajustar las acciones del PGI. Un cambio de las tecnologías puede afectar la frecuencia de inspección, o producir modificaciones adicionales al sistema. Los objetivos del gerenciamiento de integridad de los diferentes sistemas pueden ser distintos y adecuados para cada uno.

· Se deben implementar acciones de mitigación para defectos que potencialmente puedan producir las fallas. Los operadores deben tomar acción para corregir los problemas de integridad que surjan de la evaluación y análisis de la información, deben evaluar las anomalías e identificar aquellas que representan una amenaza a la integridad del sistema. Deben tomarse acciones que eliminen dichas amenazas.

· La nueva tecnología debe ser evaluada y utilizada en forma apropiada. La nueva tecnología debe ser comprendida e incorporada en el contexto del PGI. Como toda nueva tecnología debe ser incorporada en la medida que ayude al operador a evaluar el riesgo o a mejorar las herramientas analíticas que permiten evaluarlo.

Los operadores deben periódicamente evaluar las habilidades de las nuevas tecnologías y técnicas que puedan proveer una mejora en el entendimiento de las condiciones de las instalaciones, proveyendo así una oportunidad de reducir el riesgo.

· El PGI debe ser evaluado a intervalos regulares. En el presente Reglamento se indican las prescripciones de plazos, se requiere que el operador haga entregas de información a intervalos regulares y que notifique previamente en los casos en que se desviará de las prescripciones requeridas.

Los operadores deben alentar el uso de revisiones internas del sistema para garantizar la efectividad del mismo en lo que hace a los objetivos.

502 ALCANCE

De acuerdo a lo definido en el Capítulo I.

502.1 Aplicación del PGI para operadores con más de un sistema de cañerías

Los operadores tendrán flexibilidad en la confección de su Plan de Relevamiento Base (PRB), el mismo podrá involucrar sistemas, áreas o unidades de negocio. Por ello un operador que cuente con más de un sistema podrá confeccionar un plan individual para cada sistema o un plan global para todos o más de uno de sus sistemas de cañerías, priorizando las actividades en base a los resultados obtenidos del Análisis de Riesgo (AR), siempre de acuerdo al criterio y la absoluta responsabilidad del operador.

503 DOCUMENTACION INCLUIDA POR REFERENCIA

· API 1110 Pressure Testing Liquid Pipelines.

· API STANDART 1160:Managing System Integrity for Hazardous Liquid Pipelines.

· API 579 Fitness for Service.

· API 570 Piping inspection code: Inspection, repair, Alteration and Reconstruction.

· DOT 49 CFR part 195.450 y 195.452 Pipeline Integrity Management.

· NACE Standard RP0102 "Standard recommended Practice In Line Inspection of Pipelines".

· API Recommended Practice 2200 "Repairing Crude Oil, Liquefied Petroleum Gas, and Product Pipelines".

· ASME / ANSI B 31.G "Manual For Determining the Remaining Strength of Corroded Pipelines".

· AGA Pipeline Research Committee Project PR – 3 – 805 "A Modifies Criterion for Evaluating the Remaining Strength of Corroded Pipe".

· AGA "FINAL REPORT - CONTINUED VALIDATION OF RTSRENG" Line Pipe research Supervisory Committee - Pipeline Research Committee o PRCI Contract Nº PR 218- 9304.

· Pipeline (in service) Repair manual; pipeline research Council International, project PR-218- 9307, Dec 94, Kiefner, J.F. Bruce, WA Stephens, D.R..

· "Guidance for the assessment of Dents on Welds" pipeline Research Council International, project PR-*218-9822, Dec 99, Rossenfeld M.J.

504 DEFINICIONES

Amenazas:

Son los fenómenos que actúan sobre las cañerías provocando una merma en sus condiciones de integridad. En la sección 508.1 de este Reglamento se incluyen las nueve categorías de amenazas posibles que deben analizarse en todos los tramos de los sistemas de transporte evaluados mediante el PGI.

Análisis de Riesgo (AR):

Proceso sistematizado que permite evaluar en forma conjunta, para una localización dada, la probabilidad de que ocurra una falla y las consecuencias que produciría la misma.

Areas Sensibles (AS):

Son las áreas donde una eventual fuga o rotura produciría daños de gran magnitud a las personas o al ambiente.

A los efectos de considerar los posibles daños a las personas se utilizará el concepto de clase de trazado, considerándose Areas Sensibles (AS) a las zonas donde las cañerías atraviesen clases de trazado 3 y 4.

Respecto a los eventuales daños al ambiente se considerarán Areas Sensibles (AS) a las líneas costa afuera incluyendo las instalaciones de las boyas y cuando las cañerías atraviesan:

- cursos de agua o cauces temporales.

- sitios de interés ecológico (esenciales para la supervivencia de especies).

- lagunas, playas, salinas o mallines.

- sitios declarado área natural o reserva.

- sitios declarados de interés arqueológico, histórico, cultural y/o paleontológico.

- reservas aborígenes.

- zonas identificadas como Areas Sensibles (AS) en los estudios ambientales realizados de acuerdo a la Disposición de la Subsecretaría de Combustibles Nº 56 del 4 de abril de 1997, o la normativa que la reemplace en el futuro.

Base de Datos (BD):

Conjunto de archivos magnéticos y documentos donde se almacena la información necesaria para elaborar y respaldar al PGI.

Condición anómala:

Situación en que las cañerías operan fuera de las condiciones de diseño originales o con una merma en su integridad debido a la degradación de alguna de las propiedades de la cañería o su entorno. Esta situación puede perdurar por múltiples factores, entre ellos el impedimento de acceder a la cañería por razones climáticas o de seguridad, por fuerza mayor, o porque operativamente resulta imposible interrumpir en forma imprevista el servicio de transporte. Se entiende que la condición anómala comienza a partir del conocimiento de la misma por el operador y finaliza cuando el operador realiza las tareas de mantenimiento necesarias como para restituir la condición de integridad original de diseño.

Corrosión Bajo Tensiones (Stress Corrosion Cracking) (SCC):

Es un término que describe a un mecanismo de fisuración de gasoductos y oleoductos donde actúan en conjunto el medio corrosivo, el material de construcción, las tensiones de tracción y la temperatura.

Daño por Terceros (DPT):

Es el daño que se ocasiona a la cañería por actividades relacionadas con tareas o trabajos en las proximidades. Estos daños pueden ser directos, tal como un golpe a la cañería con una retroexcavadora, o indirectos tal como movimientos de tierra que producen desviaciones de cursos de agua afectando a la cañería. A los efectos de mitigar su ocurrencia estos daños pueden subdividirse en tres grupos de acuerdo al causante de los mismos: a) primeras partes: producidos por personal propio del operador, b) segundas partes: producidos por personal contratado por el operador y c) terceras partes: producidos por personas o trabajos no relacionados en forma directa con el operador.

Defectos Geométricos:

Son los que afectan la geometría de la cañería, debiéndose mayormente a problemas de montaje o daños por terceros, son las abolladuras y pliegues. También pueden presentarse en combinación con defectos planos (fisuras) o volumétricos (corrosión principalmente), condición que modifica drásticamente la vida remanente de los mismos.

Defectos Planos:

Son los que generan discontinuidades en la pared de la cañería, mayormente son las fisuras o colonias de fisuras, siendo necesario utilizar ensayos no destructivos para detectarlos y dimensionarlos. Generalmente producen roturas en lugar de fugas. Dentro de los defectos planos también se incluyen las discontinuidades en las soldaduras longitudinales, tal como los defectos de fabricación en los tubos construidos con soldadura ERW de baja frecuencia.

Defectos Volumétricos:

Son los que presentan pérdida de metal volumétrica, es decir una merma en la cantidad de metal de la pared de la cañería, y se pueden ver a simple vista cuando son externos o detectar con ultrasonido cuando son internos. Generalmente son consecuencia de la corrosión, pueden también deberse a problemas de fabricación de la chapa o por daños mecánicos luego de la instalación.

Falla:

Fuga o Rotura producida en la cañería.

Fuga:

Toda pérdida de fluido que ocurre involuntariamente liberando producto al ambiente. La misma ocurre a través de un orificio o fisura o cualquier discontinuidad en la cañería, que permita la liberación del producto. La discontinuidad producida en la cañería no tiene dimensiones suficientes como para perder la geometría y la cañería mantiene todavía la posibilidad de mantener la presión interior diferente de la atmosférica.

Incidente:

Suceso imprevisto que puede derivar en daños a personas, instalaciones y/o al ambiente. Inspección Interna (II):

Método de evaluación de integridad que se realiza introduciendo una herramienta inteligente dentro de la cañería, que colecta información de los defectos de la misma, que luego es procesada para obtener las dimensiones y localización de los defectos.

Existen herramientas de inspección interna apropiadas para detectar y dimensionar cada tipo de defectos en particular geométricos, volumétricos y planos.

Manual de Integridad (MI):

Es un documento donde figuran los métodos de inspección y de evaluación, las especificaciones técnicas de las herramientas de inspección, las especificaciones para la PH, los criterios de aceptación y rechazo de defectos, los plazos máximos para las reparaciones (PR), los registros que se relevarán durante las reparaciones en concordancia con las necesidades del PGI, la capacitación del personal, el organigrama y toda otra documentación de respaldo referente a las actividades de integridad que el operador considere necesario incluir.

Máxima Presión de Operación (MOP):

Es la presión local máxima que se dio en un determinado punto de la cañería en los últimos 6 meses y se mantuvo por al menos 4 horas. Se utiliza como referencia para determinar las reducciones de presión para los defectos de reparación inmediata.

Medidas Mitigativas:

Medidas tomadas para minimizar o eliminar las consecuencias de una posible falla en la cañería. Por ejemplo: instalación de válvulas, mejora o implementación del sistema de detección de fugas, implementación y mejora del plan de contingencia, etc.

Medidas Preventivas:

Medidas tomadas para reducir la probabilidad de falla en una cañería. Por ejemplo: mejora en el plan de prevención de daños por terceros, mejora en el monitoreo y mantenimiento de la protección anticorrosiva, mejora en el plan de mantenimiento de las instalaciones de alivio y control de la presión.

Plan de Colección y Mejora de Datos (PCyMD):

Es un plan donde el operador detalla el momento y tipo de relevamiento que realizará para mejorar la calidad y cantidad de los datos de integridad. La certeza de los resultados que se obtengan del Análisis de Riesgo (AR) está íntimamente ligada a la calidad de los datos de entrada al sistema. La incertidumbre en los datos de entrada generará desconfianza en los resultados y esto estará reflejado en un aumento en los costos de inspección y reparación. El operador deberá balancear los costos que representan mejorar los datos en oposición con los gastos de inspección y reparación. Ejemplo de la colección y mejora de datos puede ser caracterizar el material del tubo, ya que el desconocimiento de este dato obligará a asumir una calidad mínima que redundará en mayor cantidad de reparaciones.

Plan de Gerenciamiento de Integridad (PGI):

Es un conjunto de políticas, procesos y procedimientos que sustentan las acciones de inspección, mantenimiento, operación y capacitación relacionadas con la integridad.

Plan de Inspección (PI):

Es el Plan de Relevamiento Base (PRB) actualizado con los datos relevados durante el primer período anual de inspecciones. Es decir, una vez concluida la primera campaña de inspecciones y reparaciones, toda la información recopilada realimenta el Análisis de Riesgo (AR), con estos datos actualizados se revisa el Plan de Relevamiento Base (PRB) que se transforma a partir del segundo período en el Plan de Inspección (PI) que será revisado anualmente.

Plan de Relevamiento Base (PRB):

Es el plan donde el operador describe, para todos los tramos alcanzados por el presente Reglamento, con qué método inspeccionará la línea y en qué momento. El Plan de Relevamiento Base (PRB) se elaborará en base a los resultados obtenidos del ARB, de las posibilidades operativas del sistema y de la experiencia propia de la empresa o de empresas similares, no obstante se deberán inspeccionar primero las líneas de mayor riesgo.

Plan de respuesta (PR):

Es un plan donde se definen las acciones a tomar ante el conocimiento de la existencia de alguna anomalía en las cañerías, debe incluir al menos: reducción de presión ante el conocimiento de la anomalía, reducción de presión para la investigación directa en función del tipo y severidad de los defectos, criterios de evaluación para los distintos tipos de defectos (volumétricos, planos o geométricos), criterio de aceptación y rechazo de los defectos con sus respectivos factores de seguridad, tiempo de respuesta para la reparación de los defectos en función de la severidad de los mismos.

En la presente Reglamento se dan los requisitos mínimos para la elaboración del Plan de Respuesta (PR).

Presión de Falla (PF):

Es la presión a la que se estima que un defecto localizado en una cañería producirá una falla.

La presión de falla es estimada mediante los cálculos realizados en base a las características del defecto y propiedades del material de la cañería. El mayor conocimiento de la geometría del defecto y de las propiedades del material dará una mejor aproximación a la presión de falla real.

A los efectos de la determinación de la Presión de Falla (PF), se deberán utilizar procedimientos de cálculo con respaldo internacional de probada consistencia en los resultados. Los factores de seguridad que se apliquen a la Presión de Falla (PF) para el cálculo de la presión segura de trabajo estarán acordes con la precisión y confiabilidad del método elegido.

Cuando las características de los defectos sean relevadas con herramientas inteligentes de inspección interna, el operador deberá considerar la incertidumbre provocada por el error inherente al proceso de toma de datos, y dicha incertidumbre deberá ser considerada en los coeficientes de seguridad para el cálculo de la presión.

Para la incorporación de las características del material (resistencia y tenacidad) a las formulas de cálculo de Presión de Falla (PF) se utilizarán valores conocidos y respaldados por la documentación correspondiente. En los casos que sea necesario suponer estos datos se optará por tomar valores conservadores.

Presión de hallazgo (PA):

Es la presión que había en la cañería al momento de descubrirse una condición anómala. Se utiliza como presión de referencia para las reducciones de presión durante la investigación de los defectos en forma directa, a fin de prevenir la ocurrencia de la falla en presencia de personal de operación.

Prueba Hidráulica (PH):

En el contexto del PGI es la prueba de presión conducida con fines específicos para detectar o mitigar algún tipo de defecto en particular.

Presión de rotura (PC):

Es la mínima presión de colapso pronosticada para un caño degradado. La presión de rotura de un caño corroído se determina por cálculo, considerando la tensión de flujo y las dimensiones de la pérdida de metal (profundidad y longitud). Dentro del criterio ASME B 31G modificado, la tensión de flujo del caño es una propiedad del material relacionada a su resistencia a la fluencia, y es igual a la tensión de fluencia mínima especificada del caño mas 10.000 psi.

Riesgo:

Es una medida que cuantifica la probabilidad de ocurrencia de una falla y la magnitud de las consecuencias que produciría la misma.

Rotura:

Colapso de la tubería que ocurre involuntariamente liberando producto al ambiente. La rotura puede ocurrir por una fractura que libera el producto.

Tramos o segmentos:

Son las subdivisiones de la cañería que decida realizar el operador a los efectos de optimizar el análisis y manejo del PGI.

Variante (cambio de Traza):

Cambio o reubicación de la cañería en otra trayectoria con el objeto de prevenir o mitigar alguna amenaza en particular.

Verificaciones directas (VD):

Verificaciones que se realizan en pozos de investigación donde se descubre la superficie de la cañería. En ellas se recaban datos y se efectúan mediciones que se realizan en forma directa sobre la cañería.

PARTE 2: REQUERIMIENTOS MANDATORIOS

505 REQUERIMIENTOS MANDATORIOS DE DOCUMENTACION DEL PGI

Los operadores de los sistemas de transporte alcanzados por el presente Reglamento deberán elaborar y mantener actualizada la siguiente documentación, la cual conformará el Manual de Integridad (MI) del sistema de cañerías en cuestión:

Capítulo 1 - Información General

A. Política de Integridad del Operador

B. Funciones y Responsabilidades (Operación, Mantenimiento e Integridad)

i. Organigrama de la empresa con la descripción de las responsabilidades concernientes a cada sector.

ii. Los registros y planes de capacitación de los individuos sobre los que recaen las responsabilidades (Apéndice Q del presente Reglamento).

C. Descripción de los elementos del Plan de Gerenciamiento de Integridad (PGI)

i. Descripción del proceso de colección e integración de datos.

ii. Descripción del sistema de ARB para la elaboración del Plan de Relevamiento Base (PRB).

iii. Descripción de la metodología para elaborar del Plan de Relevamiento Base (PRB).

iv. Descripción del Plan de Respuesta (PR).

v. Descripción de la Base de Datos (BD) utilizada.

vi. Descripción del sistema de Análisis de Riesgo (AR) utilizado a partir del segundo año.

vii. Descripción de la metodología para actualizar del Plan de Inspección (PI) a partir del segundo año.

viii. Descripción de la metodología para elaborar del Plan de Colección y Mejora de Datos (PCyMD).

ix. Descripción de la metodología para la elaboración de los medidores de perfomance.

Capítulo 2 - Planes y Resultados

a. Datos Básicos del Sistema.

b. Resultados del ARB.

c. Plan de Relevamiento Base (PRB).

d. Plan de Respuesta (PR).

e. Areas Sensibles (AS) identificadas.

f. PDyMD.

g. Plan de Acciones Preventivas y Mitigativas Adicionales (APyMA).

h. Plan de Inspección (PI).

i. Base de Datos (BD), este elemento puede estar solamente en soporte magnético.

j. Resumen de los resultados y hallazgos de las inspecciones: Inspección Interna (II) y Prueba Hidráulica (PH).

k. Resumen de las reparaciones realizadas.

l. Evaluación de la efectividad del PGI.

m. Otros planes y resultados que el operador considere de relevancia.

506 CRONOGRAMA DE ENTREGA DE DOCUMENTACION

El Operador deberá presentar a la Autoridad de Aplicación la siguiente documentación en lo plazos requeridos:

NOTA (1): Se enviará a la Autoridad de Aplicación un resumen, preferentemente de no más de dos carillas con la información requerida.

NOTA (2): Se enviará a la Autoridad de Aplicación un listado con la información mínima necesaria para comunicar la información requerida.

NOTA (3): Se enviará a la Autoridad de Aplicación el "Resumen Ejecutivo" del Informe Final de Derrame, Fuga o Rotura.

La documentación y registros de respaldo de la información permanecerán en poder del operador, pero debe estar disponible ante cualquier requerimiento de la Autoridad de Aplicación.

PARTE 3: PROCESO DE IMPLEMENTACION DEL PLAN DE GERENCIAMIENTO

DE INTEGRIDAD

507 COLECCION E INTEGRACION DE DATOS

507.1 Identificar Ductos Alcanzados

El operador debe identificar todas las líneas de cañerías incluidas en el alcance de este documento.

507.2 Colectar datos

El operador debe colectar toda la información disponible para comenzar con el desarrollo del PGI.

El operador deberá presentar a la Autoridad de Aplicación los Datos Básicos solicitados en el Anexo 1 del presente Reglamento.

Ante el desconocimiento de alguno de los datos el operador deberá adoptar el valor más conservador.

507.3 Integrar Datos

El operador deberá desarrollar e implementar un proceso de colección y de integración de datos que permita obtener y manejar en forma sistemática la información antes requerida para cada uno de los tramos de su sistema.

Deberá desarrollarse un sistema de referenciamiento común (en unidades consistentes) a efectos de permitir que todos los datos colectados puedan ser analizados para una misma localización. El sistema elegido para integrar los datos debe estar georreferenciado. El error inherente al método desarrollado para la integración de los datos debe ser compatible con el método de Análisis de Riesgo (AR) que se adopte.

508 CONTENIDOS DEL ANALISIS DE RIESGO BASICO (ARB)

508.1 Identificación de las amenazas aplicables

El operador debe analizar para cada tramo alcanzado por el presente RT la aplicabilidad de cada una de las siguientes amenazas:

a - Dependientes del tiempo transcurrido:

a1 - Corrosión interna.

a2 - Corrosión externa.

a3 - Stress Corrosion Cracking (SCC).

a4 - Fatiga.

b - Estáticas o residentes:

b1 - Defectos de fabricación en caño y accesorios:

- Soldadura longitudinal.

- Cuerpo del caño y material.

b2 - Construcción:

- Soldaduras circunferenciales defectuosas.

- Soldaduras defectuosas.

- Curvas con arrugas o pliegues.

- Roscas y cuplas defectuosas.

b3 - Equipamiento:

- Fallas en juntas, empaquetaduras y retenes.

- Fallas en equipos y dispositivos de alivios.

- Fallas en sellos de bombas y empaquetaduras.

- Misceláneos.

c - Independientes del tiempo:

c1 - DPT (daños mecánicos):

- Daños ocasionados por primeras (personal del operador), segundas (personal contratado por el operados) o terceras (personal ajeno al operador) partes con consecuencias instantáneas.

- Idem anterior con modo de manifestación retardada.

- Vandalismo.

c2 - Operación incorrecta:

- Procedimientos de operación incorrecta.

c3 - Fuerzas externas relacionadas con el clima:

- Tiempo extremadamente frío.

- Descargas atmosféricas.

- Lluvias copiosas o inundaciones.

- Movimientos del suelo.

508.2 Identificación somera de Areas Sensibles (AS)

El operador deberá identificar las zonas donde las cañerías alcanzadas por el presente Reglamento cruzan Areas Sensibles (AS).

En esta etapa del proceso de implementación del PGI podrá hacer una identificación somera de las Areas Sensibles (AS), ya que es esperable que no cuente con la información detallada necesaria para un análisis exhaustivo.

508.3 Segmentación por tramos

Una división en tramos apropiada permitirá asignar los recursos de mantenimiento en una forma más eficiente.

508.4 Análisis de Riesgo Básico (ARB)

El Operador debe seleccionar un método de Análisis de Riesgo (AR) apropiado para su sistema y para el PGI. En esta etapa basta con un método que permita priorizar en forma somera las actividades de inspección para la elaboración del Plan de Relevamiento Base (PRB).

El ARB debe ser conducido, como mínimo, para cada uno de los tramos incluidos en el alcance del presente Reglamento. En el proceso deben considerarse todas las amenazas posibles.

En esta etapa se deberá asumir mucha de la información que requiere el método de Análisis de Riesgo (AR), lo cual dependerá de la calidad y cantidad de datos de que disponga el operador. El objetivo de esta primera corrida de análisis de riesgo es establecer las bases técnicas y prioridades para la elaboración del Plan de Relevamiento Base (PRB).

509 ELABORAR EL PLAN DE RELEVAMIENTO BASE (PRB)

509.1 Determinar el tipo de inspección aplicable a cada tramo / amenaza

Basado en el modo más probable de falla identificado en los pasos anteriores para cada tramo el operador debe establecer el o los métodos de inspección que utilizará para conocer la situación del tramo en cuestión. Los métodos aceptados para inspeccionar las líneas son:

· Inspección Interna (II) mediante scraper inteligente.

· Prueba Hidráulica (PH) de integridad .

· Otro método que proporcione un conocimiento equivalente de la situación de los defectos yacentes en el tramo de la cañería.

Para la correcta selección de la herramienta de inspección adecuada se recomienda el uso de la Recomendación Práctica NACE RP 0102 "Standad Recomendad Practice In Line Inspection of Pipeline".

509.2 Utilización de otra tecnología que no sea Inspección Interna (II) o Prueba Hidráulica (PH)

Si el operador decidiera utilizar una tecnología que no fuera Inspección Interna (II) o Prueba Hidráulica (PH) para evaluar los efectos de una amenaza, deberá enviar a la Autoridad de Aplicación con 90 de anticipación a la presentación del Plan de Relevamiento Base (PRB) o Plan de Inspección (PI), según corresponda, la documentación técnica que justifique que dicha tecnología provee un nivel de comprensión de la amenaza a evaluar, que resulta equivalente a la Inspección Interna (II) o a la Prueba Hidráulica (PH).

509.3 Realizar el Plan de Relevamiento Base (PRB)

El operador debe establecer un Plan de Relevamiento Base (PRB) basado principalmente en los resultados del ARB, enfocando sus esfuerzos en los tramos con mayor riesgo. El Plan de Relevamiento Base (PRB) deberá contemplar el tiempo desde la última inspección, si es que la hubiera, y los resultados de la misma.

El Plan de Relevamiento Base (PRB) debe incluir el método y el cronograma de inspección para cada tramo de acuerdo a las amenazas antes identificadas.

Se podrán tomar en cuenta consideraciones prácticas (inspeccionar diámetros iguales o realizar Prueba Hidráulica (PH) en tramos contiguos etc.), no obstante los tramos de mayor riesgo deben ser inspeccionados primero.

509.4 Kilometraje requerido por la Autoridad de Aplicación

En el Plan de Relevamiento Base (PRB) el operador se debe comprometer a inspeccionar, primero, de acuerdo a los resultados del Análisis de Riesgo (AR), los tramos de mayor riesgo:

Al menos el 50% de los tramos incluidos en el Plan de Relevamiento Base (PRB) deberán ser completados antes del año 5 de publicado el presente Reglamento, debiéndose completar al menos un 10% anualmente.

El 50% de los tramos restantes incluidos en el Plan de Relevamiento Base (PRB) deberán ser completados antes del año 9 de publicado el presente Reglamento Técnico (RT), debiéndose completar al menos un 10% anual.

Los porcentajes se miden en longitud inspeccionada sobre longitud total de cañerías alcanzadas por el presente RT.

El operador deberá definir y documentar el tratamiento que dará a los defectos que detecte en las cañerías durante las inspecciones y posteriores VERIFICACIONES DIRECTAS (VD). Considerará a tal fin los distintos tipos de defectos según su característica y tipo de inspección que se le realizó a la línea.

El operador debe revisar los resultados de las VERIFICACIONES DIRECTAS (VD) y en forma conjunta con información adicional, ya integrada para el Análisis de Riesgo (AR), deberá establecer el cronograma de reparaciones de la cañería. Una vez conocida la condición, luego de las inspecciones, el operador deberá confeccionar un plan escrito de reparaciones contemplando los requerimientos de plazos, en base a la severidad de los defectos reportados.

Existen 3 condiciones de severidad de los defectos evaluados que deben ser atendidos con tres tiempos de respuesta correspondientes: Inmediata, de 60 días y de 180 días.

El operador debe tomar acción para solucionar la condición anómala descubierta. La reparación que se realice debe ser permanente y no presentar una amenaza a la integridad futura de la cañería. En ese sentido, el operador, debe ser capaz de demostrar la calidad de las reparaciones que realice, los métodos de reparación deben estar incluidos en el "Manual de Mantenimiento".

1) Condición Inmediata: Una vez descubierta la condición anómala será necesario reducir la presión de operación (PO) a los efectos de mantener la seguridad. Durante las VERIFICACIONES DIRECTAS (VD) es conveniente una reducción adicional de la presión dependiendo del valor de presión al que se encuentra el sistema.

Los defectos que merecen reparación inmediata son los siguientes:

· Pérdidas de metal mayores o iguales al 80% de la pared del tubo, más allá de sus dimensiones.

· Cuando el cálculo de la resistencia remanente del caño muestra una presión pronosticada de rotura menor que la presión operativa máxima, establecida en la progresivas de la ubicación de la anomalía. La presión de rotura de un caño corroído se determina considerando la tensión de flujo y las dimensiones, profundidad y longitud, de la perdida de metal del caño (ver NOTA 1).

· Cuando se detecte una abolladura en la parte superior del caño (entre hora 4 y hora 8) que tenga alguna indicación de pérdida de metal, fisuras o concentradores de tensiones.

· Cuando se detecte una abolladura en la parte superior del caño (entre hora 4 y hora 8) que tenga una profundidad igual o mayor al 6% del diámetro nominal.

· Cuando se detecte una anomalía que a juicio de una persona calificada y designada por el operador para evaluar defectos resulte de reparación inmediata.

2) Condición de 60 días: Con excepción de las anomalías listadas en la condición anterior de la presente sección los siguientes defectos deben ser reparadas en un plazo no mayor a 60 días de descubierta la condición:

· Una abolladura localizada en la parte superior del caño (entre hora 4 y hora 8) con una profundidad mayor al 3% del diámetro nominal (mayor a 6 mm para diámetros nominales menores a NPS 12).

· Una abolladura en la parte inferior del caño que tenga una indicación de pérdida de metal, fisuras o concentradores de tensión.

3) Condición de 180 días: Con excepción a las anomalías listadas en las condiciones anteriores del presente párrafo los siguientes defectos deben ser reparados en un plazo no mayor a 180 días de descubierta la condición:

· Una abolladura con una profundidad mayor a 2% del diámetro nominal (6 mm para caños de diámetro menor a NPS 12) que afecte un caño curvado en la soldadura circunferencial o longitudinal.

· Una abolladura localizada en la parte superior del caño (entre hora 4 y hora 8) con una profundidad mayor al 2% del diámetro nominal (mayor a 6 mm para diámetros nominales menores a NPS 12).

· Una abolladura localizada en el fondo del caño con una profundidad mayor al 6% del diámetro de la cañería.

· El cálculo de la resistencia remante del caño muestra una presión de falla menor que la máxima presión operativa mientras que la presión de rotura es mayor que la máxima presión operativa establecida en la progresiva de la ubicación de la anomalía (ver NOTA 1).

· Un área de corrosión generalizada con una pérdida mayor al 50% de la pared del tubo.

· Un área de pérdida de metal mayor al 50% de la pared del tubo que se encuentre en un cruce con otro ducto, o que se extienda circunferencialmente o que esté afectando la soldadura circunferencial.

· Una indicación de fisura que luego de excavada es confirmada como fisura.

· Corrosión a lo largo de la soldadura longitudinal.

· Una raspadura o acanaladura con una profundidad mayor al 12.5% de la pared nominal del tubo.

4) Otras condiciones: Además de las condiciones listadas en los puntos 1), 2) y 3) de la presente sección, el operador deberá evaluar cualquier condición identificada que sea una amenaza a la integridad de la cañería y planificar apropiadamente su reparación.

NOTA 1: Los métodos para calcular la presión de falla (PF) y la de rotura (PC) son: ASME / ANSI B 31.G "Manual For Determining the Remaining Strength of Corroded Pipelines" (1991) ), AGA Pipeline Research Comité Project PR – 3 – 805 "A Modifies Criterion for Evaluating the Remaining Strength of Corrodede Pipe" (december 1989) o AGA "FINAL REPORT - CONTINUED VALIDATION OF RTSRENG" Line Pipe research Supervisory Committee - Pipeline Research Committee o PRCI Contract Nº PR 218- 9304.

510.2 Requisitos mínimos estipulados en el Plan de Respuesta (PR)

Si el operador decidiera modificar los requerimientos mínimos incluidos en el punto 510.1 del presente Reglamento deberá presentar a la Autoridad de Aplicación una descripción del criterio alternativo, justificando las razones para el cambio. Estas modificaciones deberán ser presentadas antes del comienzo de la campaña de inspección del ciclo correspondiente.

511 REALIZAR INSPECCIONES Y REPARACIONES

511.1 Realizar inspecciones según el Plan de Relevamiento Base (PRB) o Plan de Inspección (PI) según corresponda

El operador deberá realizar las inspecciones y subsiguientes reinspecciones de acuerdo al Plan de Relevamiento Base (PRB) y al Plan de Inspección (PI), según corresponda. Las sucesivas reinspecciones deberán llevarse a cabo en un plazo no mayor de 5 años, estos plazos podrán extenderse cuando el operador cuente con análisis y estudios que justifiquen dicha postergación, los mismos deberán considerar el efecto temporal de las amenazas activas.

El servicio prestado por los proveedores de herramientas de Inspección Interna (II) se brinda en diferentes calidades con sus respectivas especificaciones técnicas de resolución, precisión y confiabilidad. La selección del servicio deberá ser acorde con las exigencias que se espera de la información que se colecte en la inspección y a su vez debe ser compatible con los criterios que se asumen en el Plan de Respuesta (PR) (ver sección 510.1).

En el Manual de Integridad (MI) del operador constará la información que deberá quedar registrada por cada corrida de Inspección Interna (II), así como los procedimientos para el manejo de la misma. En tal sentido, como mínimo deberá contener lo siguiente: informe de limpieza del tramo, informe de carrera, informe preliminar e informe final.

511.2 Evaluar los resultados de las inspecciones y VERIFICACIONES DIRECTAS (VD)

Los resultados de las inspecciones serán evaluados de acuerdo a los criterios establecidos en el Plan de Respuesta (PR).

Para el caso de que el tramo haya sido inspeccionado mediante herramientas de Inspección Interna (II), los resultados deberán ser evaluados contra los criterios correspondientes. El operador tendrá, si es necesario, procedimientos diferenciales para tratar la severidad de los defectos, según de donde provenga el dato que está analizando, es decir podrá contemplar distintos criterios para evaluar los datos de Inspección Interna (II) o VERIFICACIONES DIRECTAS (VD).

Para el caso de que el tramo haya sido inspeccionado mediante una Prueba Hidráulica (PH) de integridad se investigarán las roturas y fugas que pudiesen haber ocurrido durante la prueba, determinando el mecanismo de falla que produjo la fuga o rotura. De esta evaluación y de un análisis de ingeniería dependerá la aptitud de la Prueba Hidráulica (PH) para considerar que el tramo ha sido inspeccionado satisfactoriamente.

511.3 Defectos que no pueden ser reparados según el Plan de Respuesta (PR)

Si como resultado de la evaluación de los defectos y comparación de los resultados con los requerimientos del Plan de Respuesta (PR), surgiera que hay defectos que requieren reparación inmediata se deberá reducir la presión y proceder a la reparación de los mismos.

Las reparaciones deben ser llevadas a cabo dentro de los plazos establecidos en el Plan de Respuesta (PR) - ver sección 510.1-, y de acuerdo a la severidad de los defectos. Si el operador no pudiera llevar a cabo las reparaciones en los plazos prescriptos, deberá justificar las razones que le impiden realizar los trabajos y asegurar que, en ningún caso, pondrá en peligro la seguridad de las personas o del ambiente. La condición de no cumplimiento de los plazos establecidos deberá ser informada a la Autoridad de Aplicación antes que venza el tiempo de ejecución estipulado.

Las condiciones que obliguen a una reducción de presión no podrán ser mantenidas por más de 365 días.

512 INCORPORAR RESULTADOS EN LA BASE DE DATOS

512.1 Implementar una Base de Datos (BD) e incorporar los datos y resultados

Los datos constructivos de los tramos, los resultados de las inspecciones, los resultados de las evaluaciones directas, las conclusiones de las reparaciones, los informes de falla, los datos medioambientales y su sensibilidad, los datos de población deberán ser integrados, contenidos y actualizados en forma continua, en una única base de datos.

Para los operadores que no tengan desarrollado una base de datos consistente al nivel de las exigencias del PGI se propone el uso de los formatos estandarizados a nivel internacional, compatibles con los programas comerciales de Análisis de Riesgo (AR) y con los GIS (Global Information System).

Los operadores que ya cuenten con una Base de Datos (BD) consistente y acorde a las exigencias del PGI exigido por el presente Reglamento, podrán seguir utilizándola, previa demostración de su aptitud para el análisis y soporte de los datos.

512.2 Identificar y / o revisar las Areas Sensibles (AS)

El operador identificará las Areas Sensibles (AS) por donde cruzan los cañerías.

Asimismo, debe implementar un proceso para determinar y revisar cuales son los tramos que pueden afectar dichas Areas Sensibles (AS). La revisión deberá focalizarse en los cambios poblacionales y/o geomorfológicos y conclusiones que pueda obtener en base a la mejora del conocimiento de la traza de las cañerías.

512.3 Revisar Segmentación

El operador deberá revisar la segmentación en tramos de acuerdo a las modificaciones a las instalaciones, a la información referente a las Areas Sensibles (AS), o por decisión de optimizar el proceso. Si se optara por una nueva segmentación, deberá ser incorporada en el PGI.

513 RECALCULAR EL RIESGO

513.1 Implementar un método de Análisis de Riesgo (AR) y calcular Riesgo

El operador debe seleccionar e implementar un método de Análisis de Riesgo (AR) apropiado para su sistema y el PGI. En esta etapa debe seleccionar un método que permitirá al menos:

· Analizar e integrar la información de las evaluaciones e inspecciones.

· Analizar e integrar la información correspondiente a las Areas Sensibles (AS).

· Analizar las consecuencias potenciales de un derrame, sobre las personas y el ambiente en función del tipo de producto y características de diseño y operación del tramo.

· Calcular el riesgo como el producto de una probabilidad de falla multiplicado por una valoración de las consecuencias.

· Administrar y presentar la información de salida (resultados) en forma analítica y gráfica.

· Importar los datos de las instalaciones, inspecciones, coordenadas, etc. de la Base de Datos (BD).

· Exportar las salidas de las corridas del Análisis de Riesgo (AR) permitiendo la trazabilidad de los datos utilizados como reales y los datos supuestos para la generación de escenarios de análisis.

· Se deben considerar todas las amenazas posibles para cada tramo en el proceso del Análisis de Riesgo (AR), y en el evaluación de las consecuencias considerar el tipo de producto transportado.

· El Análisis de Riesgo (AR) debe ser conducido para cada uno de los tramos incluidos en el alcance de este Reglamento.

En cada ciclo el operador deberá evaluar las salidas del Análisis de Riesgo (AR) con el objetivo de establecer las bases técnicas y prioridades para la elaboración y actualización del Plan de Inspección (PI) y del Plan de Colección y Mejora de Datos (PCyMD).

En base a la experiencia del personal técnico y especialistas, se ponderarán las conclusiones que surjan del Análisis de Riesgo (AR). Una vez que ha alcanzado cierta madurez la Base de Datos (BD) y los algoritmos de ponderación, el Análisis de Riesgo (AR) es una herramienta que permite tener una visión global del estado de riesgo del sistema, sin embargo no libera al operador de la responsabilidad de revisar las salidas del Análisis de Riesgo (AR), permitiendo así el uso del sentido común y las buenas reglas de la ingeniería.

Una vez actualizada la base Base de Datos (BD) se realizará una corrida del Análisis de Riesgo (AR) y con los resultados de la misma se priorizarán nuevamente los tramos según su riesgo global.

Se deberá revisar con la nueva información disponible la aplicabilidad de las amenazas para cada tramo, en los casos que corresponda.

El operador decidirá qué tipo de Análisis de Riesgo (AR) desea implementar, cualitativo (basado en comparaciones relativas) o cuantitativo (basado en probabilidades concretas de falla y en alcances de consecuencias simuladas). Cada uno trae aparejado sus características, un análisis cualitativo permitirá priorizar los segmentos en cuanto al riesgo global (ponderando cada una de las amenazas y escenarios de consecuencias), mientras que uno cuantitativo le permitirá calcular la probabilidad de que un defecto —del cual se conocen detalladamente sus características— produzca una falla.

En el análisis cuantitativo se requiere de más y mejor información, mayor precisión en la integración de los datos, mejor capacitación del personal a cargo de realizar las tareas de evaluación de los defectos, de la cartografía y del software del Análisis de Riesgo (AR) adoptado. A cambio de estas mayores exigencias podrá administrar situaciones de mayor compromiso en lo referente a la integridad del sistema.

514 REVISAR PLANES DE INSPECCION Y MITIGACION (PCyMD)

514.1 Actualizar Plan de Colección y Mejora de Datos (PCyMD)

El operador debe presentar el Plan de Colección y Mejora de Datos (PCyMD) donde describirá las acciones que implementará en el período entrante en lo que hace a la mejora de los datos de la Base de Datos (BD). Deberá describir en qué tramos comprometerá recursos en mejorar la calidad de los datos.

Luego de haber realizado el ARB y presentado el Plan de Relevamiento Base (PRB), el operador implementará un método de Análisis de Riesgo (AR) acorde con las aspiraciones del PGI. En esta etapa es necesario definir qué tipo de datos y de qué calidad, serán necesarios para cargar la Base de Datos (BD) que alimentará el Análisis de Riesgo (AR) y justificará las decisiones de control de la integridad del sistema.

Con un mayor y mejor conocimiento de los datos se podrán tomar acciones más certeras y precisas, por lo que, el resultado será que disminuirá más el riesgo con menor mantenimiento.

El desconocimiento de algunas variables puede conducir a tomar medidas generales y acciones más dispersas para reducir el riesgo, aumentando así los recursos necesarios para el mantenimiento.

514.2 Estudiar e implementar las Acciones Preventivas y Mitigativas Adicionales (APyMA) en tramos ubicados en Areas Sensibles (AS)

En los casos que haya tramos que atraviesan Areas Sensibles (AS) o que las consecuencias de un derrame pudieran afectar Areas Sensibles (AS), el operador deberá estudiar Acciones Preventivas y Mitigativas Adicionales (APyMA) para disminuir el riesgo. Esta disminución del riesgo se hará trabajando sobre los dos factores que lo componen.

Para disminuir la probabilidad de falla el operador deberá estudiar medidas preventivas, en forma independiente sobre cada amenaza posible y medidas concretas para disminuir la probabilidad de ocurrencia de una falla (por ej: remover defectos de corrosión para disminuir la probabilidad de rotura, aplicar losetas para prevenir un daño por maquinaria en un basural, mejorar la limpieza e inhibición para disminuir la probabilidad de falla por corrosión interna etc.).

Las acciones preventivas tendientes a disminuir la probabilidad de falla son -pero no se limitan alas siguientes:

· Mejorar las prácticas de prevención de daños.

· Mejorar el monitoreo de la protección catódica.

· Acortar los intervalos entre inspecciones.

· Implementar y/o mejorar el sistema de detección de pérdidas.

· Aumentar la capacitación.

· Instalar losetas sobre la cañería.

Las acciones mitigativas tendientes a disminuir las consecuencias de una falla son -pero no se limitan a las que siguen:

· Instalar válvulas de línea automáticas.

· Mejorar el sistema de emergencia.

· Mejorar los planes de evacuación.

· Mejorar el tiempo de respuesta ante una fuga.

El operador deberá informar a la Autoridad de Aplicación el conjunto de Acciones Preventivas y Mitigativas Adicionales (APyMA) que se compromete a implementar en el próximo período para las diferentes Areas Sensibles (AS) identificadas.

514.3 Determinar el / los métodos de reinspección

En base a la experiencia colectada durante las inspecciones, las VERIFICACIONES DIRECTAS (VD) y los resultados del Análisis de Riesgo (AR), el operador deberá determinar el o los métodos de inspección para una nueva inspección siguiendo los lineamientos descritos en el punto 509.1.

Los métodos que elija el operador para evaluar la integridad de los caños cuya soldadura longitudinal sea tipo ERW o lap welded y sean susceptibles a roturas en las mismas, deberán ser capaces de evaluar la integridad de la soldadura detectando corrosión en la soldadura longitudinal así como deformaciones geométricas.

514.4 Segmento o tramo que pueda ser inspeccionado en un lapso mayor a 5 años

El presente Reglamento prevé la posibilidad de prolongación del período de 5 años para determinadas situaciones, para ello se solicitará:

Caso 1 - Una justificación de ingeniería que demuestre que la integridad del tramo puede ser mantenida realizando otras actividades hasta que se efectúe la siguiente inspección.

Caso 2 - La necesidad de diferir la inspección hasta que esté disponible la tecnología apropiada para realizarla.

La Autoridad de Aplicación deberá ser notificada con un año de antelación para el Caso 1 y con 180 días para el Caso 2. En ambas situaciones deberán documentarse las acciones y criterios que justifican el cambio.

514.5 Actualizar el Plan de Inspección (PI)

Basado en los resultados del Análisis de Riesgo (AR), luego de haber incorporado los datos provenientes del Plan de Relevamiento Base (PRB), reparaciones y Acciones Preventivas y Mitigativas Adicionales (APyMA), el operador debe establecer el cronograma para la próxima inspección de las líneas. La reinspección debe realizarse dentro de los 5 años de cumplida la última inspección.

El Plan de Inspección (PI) deberá ser informado a la Autoridad de Aplicación siguiendo el cronograma establecido en este Reglamento.

PARTE 4: EVALUACION DE LA EFECTIVIDAD DEL PGI

515 INDICADORES DE GESTION

Los indicadores de gestión son una herramienta para evaluar la efectividad del PGI, el presente Reglamento exige la presentación a la Autoridad de Aplicación de un conjunto de indicadores mandatorios. Asimismo, es recomendable que el operador implemente un conjunto más extenso de indicadores que le permitirán conocer con mayor detalle la eficiencia de su PGI, logrando de esta manera identificar las áreas que merecen mayor atención.

515.1 Indicadores Mandatorios

El operador deberá mantener actualizada e informar a la Autoridad de Aplicación -junto con la Entrega 3- los siguientes indicadores:

1. Longitud Inspeccionada mediante Inspección Interna (II) / Longitud comprometida en el Plan de Relevamiento Base (PRB) o Plan de Inspección (PI), según corresponda.

2. Longitud Inspeccionada mediante Prueba Hidráulica (PH) / Longitud comprometida en el Plan de Relevamiento Base (PRB) o Plan de Inspección (PI), según corresponda.

3. Cantidad de fugas detectadas / Longitud del sistema.

4. Cantidad de roturas / Longitud del sistema.

5. Cantidad de incidentes.

6. Cantidad de defectos reparados luego de la Inspección Interna (II) / Longitud del sistema.

7. Cantidad de roturas detectadas mediante las Prueba Hidráulica (PH) / Longitud del sistema.

8. Cantidad de veces que no se implementó la reparación según el Plan de Respuesta (PR).

515.2 Indicadores Adicionales Sugeridos

ANEXO 1: Datos Básicos del Sistema

ANEXO 2: Informe Final de Derrame, Fuga o Rotura

ANEXO 1 [ A ]: DATOS BASICOS DEL SISTEMA

A1 - 1 INTRODUCCION

El presente Anexo establece los requisitos de información que deberán ser presentados a la Autoridad de Aplicación junto con la Entrega 1.

A1 - 2 DATOS CONSTRUCTIVOS

NOTA 1: Se deberá subdividir la cañería en la cantidad de tramos que sean necesarios, de manera que se mantengan sus características constructivas y Areas Sensibles (AS).

ANEXO 2 [ A ]: INFORME FINAL DE DERRAME, FUGA O ROTURA - 120 DIAS

A2 - 1 INTRODUCCION

El presente Anexo describe los requisitos para la presentación del Informe Final de Derrame, Fuga o Rotura. El mismo será presentado de acuerdo al "CRONOGRAMA DE ENTREGA DE DOCUMENTACION a la Autoridad de Aplicación" (ver "ENTREGAS CIRCUNSTANCIALES" en sección 506).

El Informe Final de Derrame, Fuga o Rotura, deberá completar y hacer referencia al informe preliminar que como "Informe de Incidentes Ambientales" debe enviarse en forma inmediata siguiendo los lineamientos indicados en la Resolución de la SECRETARIA DE ENERGIA Nº 24 del 12 de enero de 2004, o la normativa que la reemplace en el futuro.

El objetivo del Informe Final de Derrame, Fuga o Rotura, es aclarar las causas que condujeron a la ocurrencia de la falla, luego de varios meses de investigación, recolección y análisis de datos. Se deberá incluir en el informe un análisis crítico del tratamiento de la amenaza en el contexto del PGI. Si fuera necesario, el informe deberá incluir las modificaciones al PGI para mitigar el riesgo de la amenaza correspondiente.

La profundidad y extensión del desarrollo del informe queda a criterio del operador, pero esta interpretación debe estar de acuerdo a la magnitud del evento ocurrido, considerando no solo las consecuencias particulares del hecho, sino las consecuencias potenciales de otros incidentes relacionados con la amenaza implicada.

No se pretende que en este informe el operador repita la información presentada a la Autoridad de Aplicación en lo referente a las consecuencias ambientales y su plan de remediación.

A2 - 2 CASOS EN QUE CORRESPONDE PRESENTAR EL INFORME DE "DERRAME, FUGA O ROTURA"

La guía que se provee en el presente Anexo es mandatoria para los casos en que se produzca:

Una rotura de la cañería.

Fugas reiteradas con características similares que merecen atención por su recurrencia y cantidad.

Fugas crónicas que hayan producido un gran impacto ambiental.

A2 - 3 TRES ELEMENTOS MINIMOS A INCLUIR EN EL INFORME

1- RESUMEN EJECUTIVO

Resumen de los hechos y del contexto del problema, que contenga una descripción del tipo de defecto que produjo la falla, datos de la empresa y cualquier otra información general de relevancia.

2- DOCUMENTACION DE REFERENCIA

Listar la documentación relacionada con el incidente a presentar ante la Autoridad de Aplicación, de acuerdo a la normativa vigente.

Incluir la documentación de carácter general que el operador considere de utilidad para aclarar algún punto.

3- LOS HECHOS

3.1 RESPUESTA A LA EMERGENCIA

Descripción del operativo realizado.

3.2 DESCRIPCION DE LA REPARACION REALIZADA

Descripción detallada de la reparación realizada en la cañería, ensayos y pruebas realizados, material utilizado etc.

3.3 RESTITUCION DEL SERVICIO

Descripción del impacto ocasionado por el incidente, tiempo de la cañería fuera de servicio o con limitaciones operativas, impacto sobre otros actores, etc.

3.4 CONSECUENCIAS

Exponer los daños ocasionados por el incidente a las personas -muerte o lesiones-, a los bienes concesionados, a los bienes de terceros, al ambiente y a cualquier otro sujeto.

3.5 DATOS COMPLEMENTARIOS

Otros datos que el Operador quiera incluir con el objeto de aclarar algún punto en particular en referencia a los hechos acaecidos.

3.6 RESPUESTA DE OTROS ORGANISMOS

Descripción, si la hubiera, de la intervención de bomberos, policía, autoridades de aplicación, organismos ambientales, municipios, etc.

4- ANALISIS DE LA FALLA

El análisis de falla debe contener al menos los siguientes elementos:

· Análisis de la causa raíz más probable de la falla.

· Amenaza que produjo el daño.

· Micrografías, fotografías, imágenes al microscopio electrónico, análisis de fatiga, susceptibilidad, estudios de agresividad del producto, estudio de composición de suelo, composición de productos de corrosión y cualquier otro elemento que se considere útil a efectos de esclarecer los mecanismos de falla actuantes.

5- DESCRIPCION DE LA CAÑERIA

5.1 HISTORIAL DE LA FABRICACION Y MONTAJE DE LA LINEA

Descripción de los datos básicos de la cañería en cuestión, particularidades constructivas, presión de prueba original y recalificaciones si las hubiere, código de diseño, MAPO y toda otra información que el Operador considere relevante incluir con el objeto de aclarar los hechos y los planes de acción futuros.

5.2 HISTORIAL DE MANTENIMIENTO

Datos de mantenimiento de la cañería, procedimientos aplicables de limpieza, protección anticorrosiva, recorridas, relevamiento y/o detección de fugas, mantenimiento de la picada, cruces especiales, patrullaje, control de la invasión a la zona de seguridad, rutinas de prevención de daños y toda otra rutina de mantenimiento aplicable a la cañería en cuestión.

5.3 HISTORIAL DE LAS CONDICIONES OPERATIVAS

Condiciones de presión, caudal y temperatura del fluido al momento del incidente. Con menor detalle el historial de los últimos días (30 días aproximadamente), y el historial de los cambios relevantes en las condiciones operativas de la cañería a través de los años.

6- CONSIDERACIONES ESPECIALES

Cuando el Operador considere relevante incluir otras consideraciones tales como:

· Comportamiento de líneas similares en la República Argentina, o en el exterior.

· Referencia a modos de falla similares dados en otras cañerías, estudios estadísticos comparativos.

· Acciones correctivas tomadas en circunstancias parecidas por otros operadores o que ilustren acerca de accionares diferentes.

7- ANEXOS

Deberán contener la información extendida mencionada en el informe y toda otra información adicional que el operador desee incluir.

8- SOPORTE

El Informe Ejecutivo deberá ser presentado a la Autoridad de Aplicación en formato papel y copia digital.

El informe completo quedará en custodia del operador formando parte de la documentación del PGI.

APENDICE N [ A ]: PROGRAMA DE PREVENCION DE DAÑOS POR EXCAVACIONES

N1 – Alcance

Todo operador de un sistema de transporte de hidrocarburos líquidos alcanzado por este Reglamento, confeccionará por escrito. —de acuerdo con la presente sección— un Programa de Prevención de Daños (PPD) a sus cañerías como consecuencia de actividades de excavación, a efectos de garantizar su integridad.

Para esta sección las "actividades de excavación" comprenden: excavaciones, voladuras, construcción de túneles, rellenos, remoción de estructuras subterráneas o superficiales, y cualquier otra actividad de movimiento del terreno.

N2 - Generalidades

Como mínimo, el PPD debe:

1) Incluir la identificación, sobre una base amplia, de las empresas y/o personas que normalmente están dedicadas y comprometidas en actividades de excavación, dentro del área en la cual la cañería está ubicada.

2) Proveer toda información necesaria para advertir al público, dentro de la vecindad de la cañería, y notificar fehacientemente a las empresas/personas identificadas en 1), para hacer que ellas conozcan y permanezcan actualizadas en todo lo referente a:

i. el programa de prevención de daños y su propósito;

ii. cómo proceder, antes de comenzar cualquier actividad de excavación, a ubicar la cañería enterrada, siempre con la colaboración del operador.

3) Suministrar los medios de recepción y registro de las notificaciones de las actividades de excavación planeadas por terceras partes.

4) Si el operador tiene cañerías enterradas dentro del área de actividad de la excavación, debe suministrar, para la notificación real de las personas responsables que informaron su intención de realizar excavaciones, los planos de detalle correspondientes, el tipo de señales temporarias a colocar en obra y la manera de identificarlas.

5) Antes de que la actividad de excavación comience, la compañía a cargo de las tareas debe instalar señales temporarias de ubicación de las cañerías enterradas, dentro del área de excavación que interesa.

6) Para las cañerías propias, sobre las cuales el operador tiene razonable certeza que podrían ser dañadas por las actividades de excavación, proveer inspecciones con las siguientes características:

i. la inspección debe ser integral, tan frecuente y/o permanente como sea necesario;

ii. en el caso de uso de explosivos, la inspección incluirá la investigación de posibles pérdidas en la cañería.

N3 - PPD escrito

Deberán establecerse los propósitos y los objetivos del PPD, determinando los métodos y los procedimientos para lograrlos.

Los procedimientos deben incluir:

1) Definición de las actividades de excavación.

De acuerdo a las actividades de excavación definidas por el PPD, el operador debe contar con toda la normativa local y/o nacional que le sea aplicable.

2) Sistemas de llamadas y/o denuncia.

El operador considerará la posibilidad de utilizar algún sistema existente de llamadas de emergencia o configurará un sistema propio. Sin embargo, cualquiera de estos sistemas no satisface todos los requisitos del Apéndice.

3) Identificación de entidades y particulares que deben ser informadas del programa.

Las fuentes que se enumeran a continuación pueden resultar útiles al preparar el listado de entidades dedicadas a las actividades de construcción:

a) Centros existentes de llamadas de emergencias.

b) Asociaciones de contratistas.

c) Empresas locales de servicios públicos.

d) Compañías de transporte por cañerías.

e) Compañías aseguradoras de transporte por cañerías.

f) Organismos estatales, provinciales y municipales que ejecutan trabajos o los licitan en vía pública.

g) Registros de compañías de servicios afines.

h) Superficiarios adyacentes al sistema de cañería.

i) Organismos estatales, provinciales y municipales que otorgan permisos en vía pública.

j) Organismos que otorgan concesiones a contratistas.

k) Listado de teléfonos de:

· Contratistas de excavación y movimiento de tierras.

· Contratistas de construcción.

· Contratistas de voladuras.

· Contratistas de perforación de pozos y túneles.

· Contratistas ambientales.

· Contratistas de nivelación de tierras y subsuelos.

· Compañías de trazados.

· Contratistas de líneas de energía eléctrica.

l) Listado del público/habitantes identificados en las cercanías de la línea de transporte.

N4 - Métodos de información a las entidades respecto al PPD

Para efectuar las notificaciones, el operador debe utilizar uno o más de los métodos siguiente:

A. los excavadores:

1. Correspondencia.

2. Teléfono.

3. Telegrama.

4. Facsímil

5. Visita personal.

Estas acciones deben estar documentadas. El procedimiento debe contemplar la notificación periódica a los excavadores.

B. Al público en general:

1. Correspondencia.

2. Facturas.

3. Volantes.

4. Avisos de radio, televisión, revistas y diarios.

5. Locutores conocidos de grupos locales.

6. Colaboración de las autoridades y funcionarios públicos que otorgan permisos en vía pública, en la distribución de la información.

7. Listado de direcciones de clientes de compañías de servicios públicos.

8. Avisos comerciales.

9. Avisos en guías telefónicas.

10. Programas de educación pública de los planes de emergencia y procedimientos de prevención de daños.

11. Programas escolares.

N5 - Información a comunicar

Los operadores deben informar a las entidades involucradas que se dediquen a las actividades de excavación, el propósito del PPD y cómo detectar la ubicación de las cañerías subterráneas, antes de iniciar su actividad en las zonas comprometidas.

N6 - Recepción de la notificación del inicio de excavaciones

El operador debe establecer un número telefónico y una dirección postal para la recepción de las notificaciones de actividades de excavación planeadas.

Debe confeccionar un registro de las notificaciones recibidas, tales como:

· Un libro de hojas numeradas.

· Formularios o memorandos.

La notificación debe conservarla archivada como mínimo UN (1) año y debe incluir:

a. Nombre del notificador.

b. Nombre o razón social de la entidad que realizará las actividades de excavación.

c. Número telefónico de la entidad.

d. Ubicación de las actividades de excavación planeadas.

e. Fecha y hora de comienzo de las actividades de excavación.

f. Tipo, alcance y cualquier otra información necesaria de la tarea que pretende iniciar.

N7 - Respuesta a la notificación de inicio o reinicio de excavación

A. Preparación:

El operador debe elaborar procedimientos para responder, en tiempo y forma, las notificaciones de inicio de excavación, considerando lo siguiente:

1. La información sobre la ubicación de las instalaciones la obtendrá de los planos, de los registros y de las investigaciones de campo.

2. Elaborará pautas para el marcado de las instalaciones, de manera compatible con las condiciones de campo.

Esto puede incluir, pero no queda limitado, al uso de pintura sobre áreas pavimentadas, postes de alumbrado, estacas, señales o banderines. Estas señales permanecerán en buenas condiciones durante el tiempo que dure la excavación.

3. Debe haber personal capacitado para marcar las instalaciones, de acuerdo con las necesidades.

B. Respuesta:

Cuando las instalaciones se encuentren en la zona de excavación, el operador incluirá en su respuesta:

1. Cómo y cuándo marcará las instalaciones propias.

2. Antes del inicio de las excavaciones, y para evitar conflictos, convocará a una reunión en la obra donde esclarecerá el procedimiento de marcado y la ubicación de las cañerías.

3. Si el marcado sólo representa la posición horizontal aproximada de las instalaciones, y si las mismas deben ser detectadas mediante excavación normal para verificar su posición exacta.

4. Los planos, dibujos o registros proporcionados a un excavador, para ayudarlo a detectar las instalaciones subterráneas, deben ser verificados en su exactitud; a menos que la constatación en obra sea clara, la exactitud de la ubicación se efectuará mediante excavación manual por parte del excavador.

5. Previo al inicio de la excavación se debe celebrar una reunión con el responsable de ésta, para discutir todos los aspectos de las actividades planeadas y los cronogramas de marcado, estableciendo líneas de comunicación segura.

6. El operador debe asesorar al excavador acerca de su responsabilidad para proporcionar apoyo y protección a las cañerías expuestas y la necesidad de realizar un relleno y una compactación adecuados para impedir hundimientos.

N8 - Inspección del Operador

A. Programación

El operador evaluará cada notificación para determinar la necesidad y el alcance de la inspección.

La inspección debe incluir la vigilancia periódica o permanente, pudiendo hacer determinación de fugas o pérdidas.

El operador debe mantener contacto con el excavador durante las actividades para evitar potenciales problemas y resolver de manera rápida, cualquier cuestión que se plantee.

Se considerarán los siguientes factores para determinar la necesidad y el alcance de las inspecciones:

1. Tipo y duración de las excavaciones.

2. Proximidad a las instalaciones del operador.

3. Tipo de equipo de excavación afectado.

4. Importancia de las instalaciones del operador.

5. Tipo de zona donde se realiza la excavación.

6. Probabilidad de que se produzca un accidente.

7. Experiencia del excavador.

8. Posibilidad de que se produzca un daño que no pueda ser reconocido fácilmente por el excavador con consecuencias futuras.

B. Asentamiento

El operador debe prestar especial atención durante y después de las actividades de excavación a los posibles asentamientos del relleno, con consecuencias para la cañería o para otra infraestructura cercana.

Deberá asegurarse que el relleno fue correctamente efectuado, devolviendo al terreno un nivel de compactación equivalente a la consolidación original, y en aquellos casos donde las consecuencias potenciales de la erosión sean considerables deberá proveer medidas adicionales, tales como bermas, disipadores de energía, etc. para mitigar dicha amenaza.

C. Voladuras

El operador seguirá los lineamientos indicados en el Apéndice O – Actividades de Voladuras.

APENDICE O [ A ]: ACTIVIDADES DE VOLADURAS

O1 - GENERALIDADES

El presente apéndice es una guía para la prevención de daños sobre infraestructuras del operador por actividades de voladura propias o de terceros.

O2 - ALCANCE

Este Apéndice proporciona criterios para planificar y adoptar precauciones cuando, por razones justificadas, se deben hacer voladuras enterradas en las proximidades de los sistemas de cañerías que transportan hidrocarburos líquidos.

Estos criterios son generales y contienen procedimientos recomendados por la buena práctica de ingeniería, pero no incluyen información técnica sobre el efecto de las cargas de voladuras sobre las instalaciones vecinas.

Al respecto, el operador, debe consultar la bibliografía existente, entre las cuales le puede recurrir a la publicación de AGA, "Efectos sobre la cañería de detonaciones de explosivos enterrados".

O3 - PROCEDIMIENTOS PREVIOS A LAS ACTIVIDADES DE VOLADURAS

1- PLANEAMIENTO

a. El profesional responsable, contratado por el operador o un tercero, debe identificar y conocer toda la normativa y demás exigencias nacionales, provinciales y locales que reglamentan la actividad que va a desarrollar. Asimismo, debe gestionar y obtener todos los permisos que correspondan, otorgados por las autoridades competentes en la materia.

b. El profesional responsable confeccionará los planos del proyecto incluyendo las instalaciones del tramo de cañería involucrada perteneciente al sistema de cañerías del operador, el que haber verificado y aprobado dichos planos.

c. El profesional responsable debe informarse de los peligros y riesgos potenciales en que pudiera incurrir, para lo cual, entre otros, recabará información del operador.

d. Una vez tomado conocimiento del proyecto confeccionado por el profesional responsable, el operador efectuará todas las observaciones que produzcan conflictos entre el diseño propuesto y las instalaciones existentes, de manera tal que los mismos desaparezcan.

e. Las especificaciones del proyecto del profesional responsable incluirán dentro de la bibliografía consultada: el listado de códigos, reglamentos y regulaciones que ha tomado en cuenta para efectuar la tarea.

f. El operador debe hacer todas las previsiones necesarias para asegurar la protección temporaria y sustentar adecuadamente sus instalaciones bajo tierra o elevadas, tanto como sea necesario.

g. Entre el operador y el profesional responsable y sus mandantes debe establecerse comunicación permanente durante la actividad de voladura.

h. El operador debe revisar su Plan de Contingencia para asegurarse de que éste cubre adecuadamente cualquier contingencia que pudiera razonablemente ocurrir.

2- REUNIONES PREVIAS A LAS ACTIVIDADES DE VOLADURA

El operador efectuará las reuniones necesarias con todos los involucrados en las actividades de voladura, y en las mismas incluirá:

a. Una revisión exhaustiva de los planos conforme a obra y las especificaciones respectivas.

b. Cronograma y plazos de voladuras y construcción.

c. Establecimiento de comunicaciones seguras con las personas responsables de la tarea.

d. El método y manera en que el operador señalará la ubicación de sus instalaciones enterradas.

e. Control de las operaciones de voladura, que incluyen:

· Roles y responsabilidades.

· Inspecciones.

· Criterios de aprobación de las actividades programadas.

· Definición de las áreas de voladura.

· Clase de voladura.

· Tamaño y tipo de carga.

· Profundidad de la carga y distancia a las instalaciones y cañerías del operador.

· Tiempo de atraso admisible y duración de la frecuencia.

· Medio de detonación de la carga.

· Configuración geométrica de la perforación del explosivo y secuencia de la detonación.

· Protección de las instalaciones del operador a ser usadas, como por ejemplo zanjas, mantas, escudos, atenuación del tiro, etc.

· Condiciones y características del terreno y el suelo que lo compone.

· Entorno geológico, y posibilidad de consecuencias no deseadas.

· Necesidad de pruebas preliminares, por ejemplo sismográficas.

· Profundidad de la cañería.

· Diámetro de la cañería, espesor, especificaciones y condiciones conocidas.

· Si el operador decide que su cañería permanecerá en servicio durante la voladura debe determinar los niveles de tensión a que será sometida, y la presión de operación segura.

· La confirmación o no de que la cañería permanecerá en servicio durante la voladura debe ser comunicada fehaciente por el operador a su propio personal y a terceros.

f. Procedimiento de reacondicionamiento del área y de las instalaciones, posteriormente a las actividades de voladura.

g. Precauciones a adoptar por parte de los involucrados para minimizar los peligros potenciales durante la voladura y las operaciones de reacondicionamiento.

3- TAREAS DEL OPERADOR ANTERIORES A LAS ACTIVIDADES DE VOLADURA

Antes de las operaciones de voladura, el operador debe:

a. Realizar una investigación de pérdidas y fugas, reparando las mismas.

b. Ubicar en el campo las instalaciones subterráneas involucradas.

c. Realizar una revisión de campo de los trabajos proyectados con el profesional responsable de las voladuras, determinando que precauciones deben ser adoptadas para protegerlas. Dicha revisión debe incluir, como mínimo:

· Tipo, indicación y diámetro de la cañería.

· Presión del sistema.

· Profundidad de las instalaciones.

· Distancia de la cañería al lugar donde se efectuarán los tipos de voladuras.

· Identificación de las instalaciones críticas.

PROCEDIMIENTOS DURANTE LAS OPERACIONES DE VOLADURA

El operador designará un representante autorizado, que deberá mantener estrecho contacto con el profesional responsable de la voladura, durante las operaciones, por los propósitos siguientes:

1- RELACION CON EL PROFESIONAL RESPONSABLE

a. Garantizar la seguridad del personal perteneciente al operador, durante todas las operaciones de voladura.

b. Informar al profesional responsable de la voladura de cualquier problema que pueda desarrollarse, afectando las instalaciones del operador.

c. Coordinar cualquier movimiento del personal del operador dentro y fuera de la zona de voladura.

d. Verificar cuándo las operaciones de voladura han finalizado.

2- PREVENCIONES DE EMERGENCIA

El personal del operador en el sitio debe tener:

a. La capacidad de poner en práctica el plan de emergencia.

b. Conocimiento preciso de las instalaciones dentro del área involucrada, su ubicación y del proyecto de voladura.

c. Relación directa con el profesional responsable.

3- INVESTIGACION DE PERDIDAS Y FUGAS DURANTE LAS OPERACIONES DE VOLADURA

a. El profesional responsable, debe primeramente confirmar al operador que no hay ningún peligro para que su personal realice los recorridos de las inspecciones.

b. Luego, el personal del operador realizará una inspección de pérdidas y fugas al finalizar cada secuencia de voladura, a lo largo de una distancia adecuada, de manera de asegurar que la integridad de sus instalaciones no corre ningún peligro.

c. Si la voladura produjo un daño, las actividades de voladura a criterio del operador deberán suspenderse hasta tanto el profesional responsable modifique de manera adecuada la técnica utilizada.

De ocurrir un accidente, el personal del operador implementará el plan de emergencia, si fuera preciso, y notificará de inmediato al profesional responsable para que cese sus actividades.

4- PROCEDIMIENTOS A EJECUTAR POR PARTE DEL OPERADOR DESPUES DE LAS ACTIVIDADES DE VOLADURA

Después que las actividades de voladura han finalizado el operador debe:

a. Reacondicionar el área involucrada a sus condiciones normales, rellenando y compactando el suelo de manera adecuada.

b. Realizar inspecciones en busca de pérdidas y fugas en las instalaciones.

c. Controlar las instalaciones y equipos para confirmar condiciones operativas seguras.

d. La vigilancia debe continuar por un período razonable, evitando asentamientos indeseables del terreno y otros daños causados por las actividades de construcción relacionados con las tareas de voladuras.

APENDICE P [ A ]: DESAFECTACION Y ABANDONO DE CAÑERIA

P1 - DESAFECTACION

Cuando se proceda a desafectar parcial o totalmente instalaciones de un sistema de cañerías, las mismas deberán ser purgadas e inertizadas adecuadamente y quedar totalmente desconectadas y aisladas de toda fuente de suministro de producto.

Las instalaciones desafectadas del servicio estarán sometidas a un plan de mantenimiento y conservación, para preservar su estado, integridad y capacidad de operación.

Para retornar al servicio, en las instalaciones que han estado desafectadas de la operación por un período mayor a 5 años, corresponderá realizar una prueba de rehabilitación siguiendo los lineamientos de la sección 451.1 "Máxima Presión de Operación – MAPO".

P2 - ABANDONO

Las instalaciones a ser abandonadas serán preparadas para tal fin siguiendo los lineamientos del presente Apéndice, y los requerimientos ambientales aplicables.

De acuerdo a la normativa vigente, el operador deberá ser previamente autorizado a abandonar las instalaciones y cañerías que componen el sistema de transporte a su cargo. Luego, implementará un plan de trabajos, que deberá ser presentado a la Autoridad de Aplicación para su aprobación, conteniendo todos los pasos y etapas a ser llevadas a cabo y los procedimientos de tareas y técnicas a ser empleadas para tal fin, siguiendo los lineamientos del presente Apéndice y requerimientos ambientales aplicables.

P3 - GENERALIDADES - LINEAMIENTOS - RECOMENDACIONES

Después del proceso de purgado y limpieza, la cañería se llenará con agua o un fluído inerte, asegurando flotabilidad negativa, procediéndose al sellado y aislamiento de todos los extremos libres.

Se deberán efectuar en el campo todas las pruebas necesarias para asegurar que las instalaciones a ser desafectadas o abandonadas, estén desconectadas y aisladas de toda fuente de suministro de producto.

En caso de ser conveniente levantar o recuperar la cañería, si en la profundidad del zanjeo se reconocen dos o más estratos edáficos, se deberán separar las capas edáficas y el subsuelo extraído, restituyéndose la secuencia del suelo durante la tapada.

Los movimientos de suelo que se efectúen no deberán impedir el libre escurrimiento superficial.

En los cruces de cursos de agua se efectuará la recomposición de márgenes.

La protección catódica de las cañerías en uso debe desvincularse de las abandonadas.

Si por alguna razón, se quiere proteger las cañerías abandonadas, debe hacerse a través de un sistema independiente.

El sellado de los extremos se podrá realizar mediante casquetes soldados, casquetes y tapones roscados, bridas y placas ciegas, casquetes y tapones con juntas mecánicas, soldado de tapas y llenando los extremos libres con un material de obturación adecuado.

El operador debe presentar a la Autoridad de Aplicación los estudios ambientales correspondiente de acuerdo a lo dispuesto por la Disposición de la Subsecretaría de Combustibles Nº 56 del 4 de abril de 1997 o por la normativa que la reemplace en el futuro.

APENDICE Q [ A ]: CAPACITACION DE PERSONAL

Q1 – GENERALIDADES

Los operadores deben confeccionar y mantener actualizado un programa escrito de capacitación del personal propio y contratado, que realiza tareas de mantenimiento y operación en sus sistemas de cañerías.

El propósito es asegurar la capacitación del personal para reducir la probabilidad y las consecuencias de accidentes.

Q2 – ALCANCE

Este apéndice se aplica a todos los operadores y al personal propio y contratado, sujetos a los requerimientos de este reglamento.

Q3 – DEFINICIONES

Personal capacitado: persona que ha sido evaluada y está habilitada para realizar las tareas de mantenimiento y operación cubiertas por este Reglamento y pueda reconocer, reaccionar y resolver las condiciones anormales que puedan producirse en el sistema de cañerías del operador. La persona debe ser capacitada utilizando los métodos de evaluaciones especificados en los programas escritos de capacitación del operador.

Evaluación: Un proceso establecido y documentado por el operador para determinar la capacidad individual del personal para realizar o cumplir una tarea, la cual se determina por cualquiera de los siguientes métodos:

· Examen escrito.

· Examen oral.

· Revisión de trabajos realizados.

· Observación durante:

· La realización del trabajo.

· El entrenamiento de la tarea.

· Simulaciones de la tarea.

· Otras formas de evaluación.

Q4 - IDENTIFICACION DE LAS PERSONAS INCLUIDAS EN EL PROGRAMA DE CAPACITACION

El operador es responsable por el desarrollo y la implementaron de los métodos de evaluación, como también de la elección apropiada del personal destinado a cumplimentar las tareas debiendo exigir que posean el conocimiento técnico adecuado.

En las tareas en que se utilice personal no capacitado, el mismo debe estar en relación directa con personas responsables y capacitadas que los supervise estrechamente.

El número de personas no capacitadas, frente a las capacitadas debe ser mínimo y tender a cero.

En caso de un accidente la/s persona/s responsable/s de las tareas involucradas necesariamente debe ser re-evaluada para determinar su capacitación en dicha tarea, así como revisar los procedimientos utilizados. El programa de capacitación debe incluir las previsiones necesarias para reevaluar al personal involucrado en circunstancias como la nombrada.

El operador debe comunicar, en tiempo, forma y de manera fehaciente al personal todos los cambios producidos en la realización de las tareas cubiertas por el programa de capacitación (el que reflejará las correcciones pertinentes en los procedimientos de mantenimiento, operación y diseño).

Es necesario que a intervalos especificados en el programa de capacitación todas las personas responsables realicen cursos de actualización de conocimientos teóricos y prácticos en las tareas identificadas como propias y en todo lo relacionado con las mismas.

El personal no capacitado que realiza tareas vinculadas con la operación y el mantenimiento, necesariamente debe recibir la capacitación básica que prevé la Ley Nº 19.587 y el Decreto Nº 911 del 5 de agosto de 1996, además de los conocimientos que el operador identifique como esenciales a efectos de minimizar errores.

Q5 - REGISTROS

El operador mantendrá registros que demuestren el cumplimiento de este apéndice.

Los registros de capacitación contendrán:

· Identificación de la capacitación individual.

· Identificación de las tareas que la persona puede realizar, de acuerdo a su nivel de capacitación.

· Fecha de la capacitación.

· Métodos de evaluación.

En el registro se mantendrá archivada la documentación precedente, por un período mínimo de 5 años posteriores al momento en que la persona haya cesado de efectuar la/s tarea/s de su responsabilidad.

Q6 - IDENTIFICACION DE TAREAS

Se describen los requerimientos mínimos que el operador debe tener en consideración al identificar las tareas a realizar por el personal capacitado.

Para los propósitos de este apéndice, una tarea identificada será, toda aquella que:

a. Deba ser realizada sobre las instalaciones del sistema de cañerías.

Esto significa una actividad que es efectuada por una persona capacitada o bajo la supervisión de ella, y cuya ejecución impacta directamente sobre el sistema de cañerías, en funcionamiento o no.

b. Deba ser una tarea de operación o mantenimiento.

Todas las tareas que se realicen en el lugar de emplazamiento, sobre los parámetros operativos del sistema o en respuesta a acciones de terceros que afectan o pueden afectar el mismo.

c. Deba ser realizada como respuesta a los requerimientos de este apéndice.

Tareas realizadas para el cumplimiento de este Reglamento en los aspectos de diseño, operación, mantenimiento e integridad, las que deberán estar a cargo de personal con acreditada experiencia comprobable en sus funciones, y en los casos aplicables con la certificación correspondiente.

Sitio desarrollado por el Ing. Néstor Adolfo BOTTA para RED PROTEGER®.
Enviar correo electrónico a webmaster@redproteger.com.ar con preguntas o comentarios sobre este sitio Web.
Copyright © 2000-2012 RED PROTEGER®
Última modificación: 05 de abril de 2012